投资有风险,入市需谨慎
我在我的新书《慢即使快-一个投资者20年的思考与实践》中写道:“自从注册制实施之后,退市已经开启了加速度,这个特性决定了个人选股踩雷的概率会越来越高。并且未来在全面注册制的大背景下,上市公司的数量会越来越多,投资个股的难度会几何级上升。”
所以,我认为,面对两市5000多只股票,对于不愿意玩基金的股民来说,投资各个行业的龙头,风险相对会低一点。
行业龙头通常在其所处行业中占据优势地位,业绩增长更稳定。但即使如此,单纯投资某一个行业龙头也会有踩雷风险,因此,我总是建议普通投资者尽量不要投资个股,退而求其次直接投资包含行业龙头的指数基金,比如中证A500ETF富国(563220)跟踪的中证A500指数,以降低单一龙头踩雷的风险。
中证A500指数是新“国九条”后发布的新一代具有“行业龙头”属性的大盘宽基指数,是A股唯一一个囊括所有行业龙头公司的指数。
公开资料显示,中证A500指数由各行业市值较大、流动性较好的500只股票组成,通过行业均衡编制方法,使成份股行业分布尽可能贴近市场整体,动态反映A股市场结构变化。
由于,中证A500指数优先选取500只三级行业自由流通市值最大的上市公司证券作为指数样本,更能全面代表A股核心资产走势,同时覆盖91个中证三级行业,超过沪深300、中证500和中证800,覆盖范围的更广意味风险分散度较高。

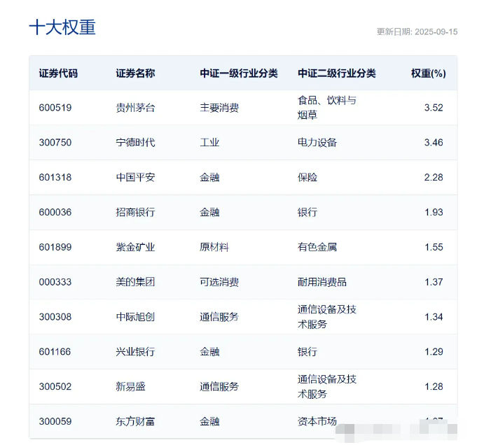
数据来源:wind,截至2025年9月15日
中证A500指数样本覆盖大中小盘,样本结构更加均衡,其中金融、主要消费、能源等行业权重相对较低,信息技术、工业、通信服务、医药卫生等行业权重较高,更贴近全市场行业分布 。
而前十大权重股又聚焦了各个行业里高成长的大市值公司,对全市场的总市值覆盖度约为55%,既兼顾了2000亿以上的大市值公司,又对200亿以下的优质小公司有所覆盖。

数据来源:中证指数官网,截至2025年9月15日
凭借“行业均衡+细分龙头”的独特编制逻辑,中证A500指数今年精准捕捉了快速轮动的行业风口——从新质生产力代表的科技成长,到经济转型支撑的工业制造,今年上涨18.21%,表现优于沪深300、上证指数等同样表征大中盘表现的可比指数。拉长时间来看,自基日以来中证A500指数的表现也是高于沪深300、上证指数等可比指数。

估值上,经过两年的上涨估值已经不再低估,市净率处于上市以来的56.35%分位处,处于合理区域。

数据来源:wind,截至2025年9月15日
现阶段上证指数突破3800点后震荡加剧,我个人认为投资者还是需要稳定情绪不盲目追涨杀,以免提高自身持仓成本。其实,股指每一次宽幅震荡都是资金调仓的过程。投资者与其频繁追随市场调仓,不如布局比如跟踪中证A500指数的中证A500ETF富国(563220)及场外联接A(022463)/C(022464)这类涵盖广泛行业的指数中,便可一键配齐A股所有行业龙头公司,坐等轮动机会的到来。$富国中证A500ETF发起式联接C(OTCFUND|022464)$