上个周末很多投资人是在忐忑不安中度过的。各个财经平台若干文章都在分析周一大A会怎么走的。占多数的观点认为现在大A的点位比4月份要高很多,所以会摔的很重。
4月7号当天沪指、深证成指、创业板指分别大跌7.34%、9.66%、12.50%,大家还记忆犹新、心有余悸。周一大A走势大家已经看到了,开盘三大股指低开只有2.49%、3.88%、4.44%,在汹涌而至的买盘推动下,全部直线拉升。
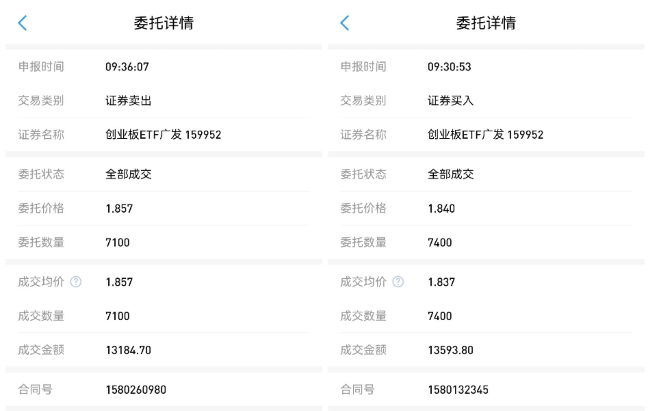
说实话,这个黄金坑委实有点小,可是小也不能浪费啊。平时我手里仅剩每月固定买基金和还房贷的现金,我就用这点钱买入创业板ETF做投机。4月7号那次大跌,我买了2.1万。周一我买了1.3万。钱都很少,我也不敢拿太多钱去投机。
这点钱纯属过过手瘾,我每份1.837元买入,1.857元卖出,一份2分钱差价,总共挣了一百来块钱。卖出后我把1.3万还是买成同业存单指数基金,在每月还款日前,赎回来还房贷,这事不能耽误。

周一收盘时,沪指接近收红,创业板指只跌一个点,科创50居然涨了一个多点。大家应该发现,场内基金可以用来做投机,场外基金就没法吃到这种波动。我做基金,投机和投资分的很清楚,投机账户是小赌怡情,操作也不多。投资账户是稳定买入,买入后不动。
周二大A三大股指跌的比周一还多,这可能与中米船舶收费落地有关,更大的原因是指数一直该调不调,这次有借口就顺势跌了。该来的调整终于来了,淡然处之。手里还有现金的,别说大A不给买入机会啊。
———“传灯组合”情况
2021年底,我在每周一基的基础上,精选6支基金,形成2022“传灯组合”,从2022年1月4日起陆续买入。22年、23年、24年连跌三年,组合收益为负。
没挣钱今年就继续持有。10月份,组合6支基金没有买入操作。目前,每支基金买了11.5万,总共投入69.0万。
———总体收益
2022年1月4日买入时,沪深300指数点位为4917点,2025年10月13日,沪深300指数点位为4593点,跌幅为6.59%。
10月13日,“传灯组合”基金总资产558649.7元,亏损131350.3元,收益率为-19.03%。
———具体涨跌幅
1、富国价值优势混合(002340),亏损7565.64元,收益率为-6.58%
2、工银前沿医疗股票(001717),亏损14376.25元,收益率为-12.50%
3、汇丰晋信智造先锋A(001643),亏损19543.74元,收益率为-16.99%
4、嘉实智能汽车股票(002168),亏损28762.33元,收益率为-25.01%
5、农银研究精选混合(000336),亏损28771.35元,收益率为-25.02%
6、交银消费新驱动(519715),亏损32330.99元,收益率为-28.11%
———每月评析
2021“传灯组合”的投入资金是存量资金,买入方式是一次性买够60万,后续不再追加。持有时间约1年2个月,整体收益率为20.32%。组合里的4支基金我还继续持有,2支已赎回。
2022“传灯组合”在操作上有变化,投入资金是存量资金加增量资金,存量资金仍为60万,增量资金每月视情买入,组合6支基金买入资金量一样。
2022“传灯组合”推出近46个月,截止目前,组合收益跑输沪深300指数12个点。过去一个月,市场震荡上升,组合6支基金净值涨跌各半,整体亏损幅度略微扩大。
———天天账户
2024年3月18日起,开始在天天基金买入基金,共持有基金2只;周二,融通健康产业买入250元,累计买入37750元。

现基金资产52955.77元,盈利15205.77元。其中,融通健康产业收益率为11.76%、东吴移动互联混合A收益率为69.33%。
备注:一位坚持基金投资19年的老司机,持续全网发文6年,致力于分享基金投资科学理念。欢迎关注自媒体:九曲传灯。
#继续红!你的基金开始回血了吗?#
$融通健康产业灵活配置混合A/B$
$东吴移动互联混合A$
#晒收益#
