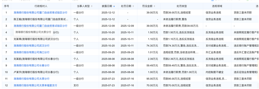
12月12日,国家金融监督管理总局网站披露一则行政处罚信息公开表显示,渤海银行股份有限公司厦门自由贸易试验区分行因授信调查不尽职,被厦门金融监管局罚款39万元,对责任人员陈王毅予以警告。
这封行政处罚决定书,为渤海银行2025年的“罚单清单”再添一笔。这已是这家成立刚满20年的全国性股份制商业银行,年内收到的第14张监管罚单。从南宁到宁波,从长沙到合肥,罚单足迹遍布13座城市的分支行,合计罚没金额已超700万元。
监管红线的频频触碰、业绩增长的结构性隐忧、转型战略的落地受阻,三重压力交织下,作为全国性股份制银行中最年轻的一员,渤海银行正站在发展的关键十字路口,其破局之路充满未知。

来源:国家金融监督管理总局网站
14张罚单
高密度违规下的内控失守
2025年渤海银行的罚单不少。公开信息显示,据企业预警通数据统计,截至12月15日,渤海银行及其分支行全年累计收到14张监管罚单,合计被罚金额超700万元。被罚机构覆盖济南、长沙、合肥、武汉、太原、宁波、厦门等13家一级分行及下属网点,处罚范围从信贷业务延伸至运营管理的多个核心领域,暴露出系统性的合规漏洞。

来源:企业预警通数据
信贷业务无疑是违规重灾区。今年7月,渤海银行太原分行因“授信调查不尽职、员工行为管理不到位、流动资金贷款管理不尽职”三项核心问题,领到95万元高额罚单,其下属幸福里支行同步因“未真实反映风险状况、贷后管理不到位”被罚70万元,多名客户经理及支行管理层被连带警告。
同期,合肥分行因“固定资产贷款超进度放款”“个人经营性贷款全流程管理失职”被罚60万元。而12月厦门分行的罚单,再次印证了“授信调查不尽职”这一顽疾的普遍性——全年14张罚单中,近70%涉及信贷基础环节违规,从年初宁波分行的同类处罚,到年末厦门分行的重蹈覆辙,信贷风控的“防火墙”形同虚设。
罚单暴露出了该行的多方面的合规问题。其中,渤海银行武汉分行因违反账户管理、金融科技、反假货币、征信安全及客户身份识别义务五项规定,被警告并罚款74.3万元,违规事项横跨传统业务与新兴领域;长沙分行则暴露出“相关人员不具备反假专业能力”“未采取有效网络侵入防范措施”等基础问题,反映出基层合规培训与技术防护的双重缺位。
值得一提的是,太原分行在领到95万元罚单前一周,其官网还醒目展示《合规运营承诺书》,承诺“严守信贷审批流程,强化员工行为管理”,言行反差凸显合规文化的空心化。
人员违规问题进一步加剧内控危机。原副行长赵志宏因2017~2023年任职期间收受礼金礼品等违纪违法问题,于2025年9月被判处有期徒刑十年,而其分管的风险管理领域,正是当前罚单集中的核心区域。
从分行中小企业部负责人到支行行长,多名管理人员因违规被追责,显示出内控失效已形成“自上而下”的传导链条。
2025年7月,拥有工商银行风控背景的齐君就任渤海银行首席风险官,这也被市场解读为可能是该行加强风控管理的一个重要信号。
财务隐忧,营收降利润增
与罚单频现的“外伤”相比,财报数据揭示的“内疾”更令人担忧。2025年前三季度,渤海银行实现营业收入193.26亿元,同比下降2.64%;净利润49.88亿元,同比增长4.65%,呈现“营收降、利润增”的分化态势。

来源:公司财报
盈利结构的“偏科”问题尤为突出。作为银行核心收入来源的利息净收入,从2021年的186.7亿元降至2024年的142.3亿元,三年降幅达23.8%,2024年同比降幅仍达11.92%。
在净息差收窄至1.12%(低于股份制银行1.35%的平均水平)的背景下,该行转而依赖金融市场业务“补血”——2024年交易收益与金融投资净收益合计达136.6亿元,占营收比重飙升至70%,较2021年提升42个百分点;2025年上半年非利息收入占比进一步升至43.4%。但这种依赖市场波动的盈利模式稳定性极差,2025年三季度营收环比下滑20.1%,核心原因便是债券市场波动导致投资收益缩水。
资产质量持续恶化成为“定时炸弹”。截至2025年6月末,渤海银行不良贷款金额为172.69亿元,较去年同期增长4.79%。不良贷款率为1.81%,较上年末0.05个百分点,这一不良贷款率在全国12家股份行位居“榜首”。
资本充足率的持续承压,则让发展后劲严重不足。核心一级资本充足率从2021年的9.23%降至2025年6月末的8.39%,已逼近监管红线。根据《商业银行资本管理办法(试行)》及后续修订,核心一级资本充足率的最低监管要求是5%。渤海银行作为全国性股份制银行,其核心一级资本充足率监管底线是7.5%(最低要求5%+储备资本要求2.5%)。
资本市场的反应更为直接:股价从2020年上市高点5.617港元,跌至2025年12月15日的0.94港元,跌幅超80%。市值的大幅缩水,导致外部股权融资渠道基本关闭,资本补充陷入“无源之水”的困境。
规模扩张,个贷不良率超4%
近年来,渤海银行明确了“财富银行、生态银行”的转型主线,个人财富资产规模实现一定增长,但个人贷款业务方面,不良贷款金额和不良贷款率均远超其公司业务。
截至2025年6月末,渤海银行的个人贷款不良金额为95.31亿元,不良贷款率为高达4.43%,较上年末上涨0.28个百分点。
其中,2024年末个人贷款中个人消费贷款不良率尤为突出,高达12.37%,引发声誉风险。与此同时也可能对存款造成了影响,2025年上半年零售存款增速降至5.4%,低于股份制银行8.2%的平均增速。
事实上,自2023年始,渤海银行个人消费贷规模大幅下滑。2023年、2024年,个人消费贷款规模接连下降,分别实现759.37亿元、375.12亿元。
为覆盖不良资产,渤海银行2024年计提信贷减值损失96.59亿元,远超52.56亿元的净利润,形成“赚的不如计提的”的倒挂局面。
近年来渤海银行也在频频进行不良资产出清。据公开信息,渤海银行有多次大规模转让不良债权的举动,合计规模超千亿元。
从2005年成立至今,渤海银行用20年时间跻身全国性股份制银行行列,但快速发展中积累的内控漏洞、资产质量等问题,已逐渐浮现。对于这家最年轻的全国性股份制银行而言,14张罚单不仅是监管的警示,更是转型的“催化剂”。唯有以合规文化重塑内控体系,以资产质量改善夯实发展基础,以资源重配推进转型落地,破解三重难题,才能在银行业竞争加剧的浪潮中重获生机。(《理财周刊-财事汇》出品)