• 最近访问:
发表于 2026-02-14 22:28:07 东方财富Android版 发布于 山东
26年,脑机接口大发展!
发表于 2026-02-14 20:58:04 发布于 山东

发布时间:2026-02-13 10:01


《星岛》记者 黄冬艳  深圳报道

随着脑机接口即将走向规模化发展,国内相关企业也纷纷开始蓄力为抢夺市场做准备。

2026年开年,“杭州六小龙”之一的浙江强脑科技有限公司(以下简称:强脑科技)及博睿康技术(上海)股份有限公司(以下简称:博睿康)两家国内脑机接口头部企业,就先后传出上市消息。

其中,博睿康于2月4日获得上海证监局上市辅导备案,辅导券商为中信证券,将冲刺科创板;而据媒体消息,瞄准港交所的强脑科技,已经以保密形式在香港递交了IPO申请,预计募集资金规模为数亿美元。

一个由清华大学博士创立,一个创始人为哈佛大学博士,不同的路径之下,背后均已站着众多知名投资机构的两家“脑机接口”领头羊企业,开始抢夺“中国脑机接口第一股”。

博睿康:六轮融资后估值最高40亿元

2026年脑机接口的火,由埃隆·马斯克点燃。这位全球知名企业家于1月1日宣布,其旗下的脑机接口公司Neuralink将于2026年启动脑机接口设备的大规模量产。

脑机接口(BCI)是大脑与外部设备直接连接的通路,通过采集、处理脑电信号,实现意念控制或神经调控,根据硬件接入方式,分为四大技术路线,包括侵入式、半侵入式、介入式及非侵入式。

正在冲刺IPO的两家国内企业,博睿康以半侵入式为主,强脑科技则聚焦非侵入式。

公开信息显示,博睿康是由清华大学生物医学工程系两位博士胥红来、黄肖山于2011年共同创立,前者为董事长,后者为总经理。

胥红来目前直接持有博睿康12.2453%股份,另通过北京博睿康投资合伙企业(有限合伙)、上海博睿康企业管理合伙企业(有限合伙)控制11.0879%的股份,合计控制23.3332%股份,为控股股东。

博睿康辅导备案信息,来源:中国证监会网上办事服务平台

作为国内最早投身脑机接口研究的企业之一,博睿康聚焦神经科学创新与脑疾病临床应用。目前业务主要有临床诊疗、科研与教学两个系列,重点产品包括已获得医疗器械注册证的经颅电刺激仪和脑电图机,以及NEO无线微创植入脑机接口系统,后者即将正式向国家药监局提交三类创新医疗器械注册申请,有望成为国内首款上市的植入式脑机接口产品。

《星岛》从企查查了解到,2016年博睿康就曾在新三板挂牌,但因彼时规模较小,收入较低且持续亏损等原因,仅一年后便又摘牌,且当时名称仍为博睿康科技(常州)股份有限公司,2025年迁至上海才完成更名。

当时披露的财务报表显示,成立3年后,博睿康已经有产品销售收入,但规模仅百万元左右,2014至2015年总营收分别为62.23万元、106.58万元,同期净利润均表现为亏损,分别为-33.89万元、-400.38万元,而净利润亏损扩大源自销售费用、管理费用等飙升。

博睿康2014—2015年利润表,来源:企查查

但得益于2015年获得了一笔1200万元的投资,净利润接连亏损的博睿康当年底现金及现金等价物达到了1268.85万元。

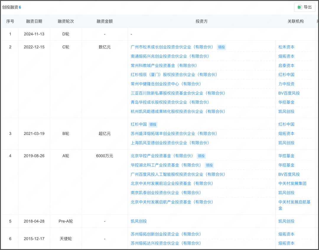
这也是博睿康获得的第一笔天使轮融资。2015至2024年,该公司累计获得6轮融资,引入多家知名机构作为发展背书,包括红杉中国、浦东科创集团、松禾资本、华控基金、中关村、BV百度风投、常州政府投资基金等。

博睿康过往融资情况,来源:企查查

有媒体消息称,2024年D+轮融资后,博睿康的估值已达35亿—40亿元。且在2025年11月,招商局中国基金还通过其全资附属公司出资1500万元,参与了博睿康的E轮融资。

强脑科技:39岁哈佛博士创业

与博睿康相比,强脑科技的港股IPO进度显然更快。

据彭博社1月中旬的消息,强脑科技已秘密提交香港IPO申请,且将由中金公司与瑞银集团合作推进发行事宜,预计募集资金规模为数亿美元,但具体细节仍在讨论中。但亦有知情人士称,强脑科技已开始准备上市文件,但尚未确定上市地点或其他细节。

对于上市事宜,《星岛》也曾联系强脑科技相关负责人求证并希望获悉更多消息,但对方表示目前无法回应,若有消息将于公司官方平台披露。

若此行顺利,强脑科技也有望成为“杭州六小龙”中首家上市的企业。

《星岛》了解到,强脑科技成立于2015年,是首家入选哈佛大学创新实验室的中国内地团队,拥有“全球首款量产脑控智能仿生手”,也是内地唯一“获得美国FDA认证的智能仿生手”,且已有多款产品上市。

强脑科技目前主要产品,来源:企业官网

值得一提的是,强脑科技创始人韩璧丞出生于1987年,目前年仅39岁,博士就读于哈佛大学脑科学中心,且当年创立强脑科技时尚未博士毕业。

据韩璧丞在接受媒体采访时介绍,目前强脑科技主要聚焦的核心方向包括三个方面:面向肢体残疾患者的智能仿生手和智能仿生腿、帮助孤独症儿童重新开流的产品、帮助失眠人群改善睡眠的产品。另外,也在推进针对阿尔茨海默病早期干预等方向的新技术研发。

今年1月31日,强脑科技最新发布了一款专为6—12岁注意缺陷与多动障碍(ADHD)儿童打造的“专注欣”医疗版注意力训练系统,该系统也已正式获得国内医疗器械注册证,成为全球首个实现儿童ADHD干预软硬件联合持证的脑机接口产品。

但让强脑科技成为脑机接口领域“当红炸子鸡”的,则是1月初,该公司获得的一笔高达20亿元的融资。

据悉,这也是脑机接口领域,仅次于马斯克旗下Neuralink的世界第二大规模融资,且背后投资阵容强大,包括著名投资机构IDG、由英特尔CEO陈立武创立的华登国际,“果链”巨头蓝思科技、领益智造,以及韦尔股份、润泽科技、华住集团、好未来集团等。

而在2025胡润全球独角兽榜上,强脑科技估值已达90亿元。

郑重声明:用户在财富号/股吧/博客等社区发表的所有信息(包括但不限于文字、视频、音频、数据及图表)仅代表个人观点,与本网站立场无关,不对您构成任何投资建议,据此操作风险自担。请勿相信代客理财、免费荐股和炒股培训等宣传内容,远离非法证券活动。请勿添加发言用户的手机号码、公众号、微博、微信及QQ等信息,谨防上当受骗!
作者:您目前是匿名发表   登录 | 5秒注册 作者:,欢迎留言 退出发表新主题
温馨提示: 1.根据《证券法》规定,禁止编造、传播虚假信息或者误导性信息,扰乱证券市场;2.用户在本社区发表的所有资料、言论等仅代表个人观点,与本网站立场无关,不对您构成任何投资建议。用户应基于自己的独立判断,自行决定证券投资并承担相应风险。《东方财富社区管理规定》

扫一扫下载APP

扫一扫下载APP
信息网络传播视听节目许可证:0908328号 经营证券期货业务许可证编号:913101046312860336 违法和不良信息举报:021-34289898 举报邮箱:jubao@eastmoney.com
沪ICP证:沪B2-20070217 网站备案号:沪ICP备05006054号-11 沪公网安备 31010402000120号 版权所有:东方财富网 意见与建议:021-54509966/952500