万达集团等被恢复执行4.1亿
来源:大河财立方
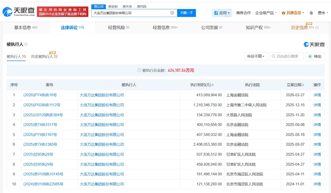
【大河财立方消息】天眼查法律诉讼信息显示,近日,大连万达集团股份有限公司、万达地产集团有限公司等新增1条恢复执行信息,执行标的4.1亿余元,执行法院为上海金融法院。

股东信息显示,大连万达集团由大连合兴投资有限公司、王健林共同持股。天眼风险信息显示,该公司现存10条被执行人信息,被执行总金额超62亿元。

郑重声明:用户在财富号/股吧/博客等社区发表的所有信息(包括但不限于文字、视频、音频、数据及图表)仅代表个人观点,与本网站立场无关,不对您构成任何投资建议,据此操作风险自担。请勿相信代客理财、免费荐股和炒股培训等宣传内容,远离非法证券活动。请勿添加发言用户的手机号码、公众号、微博、微信及QQ等信息,谨防上当受骗!
评论该主题
帖子不见了!怎么办?作者:您目前是匿名发表 登录 | 5秒注册 作者:,欢迎留言 退出发表新主题
温馨提示: 1.根据《证券法》规定,禁止编造、传播虚假信息或者误导性信息,扰乱证券市场;2.用户在本社区发表的所有资料、言论等仅代表个人观点,与本网站立场无关,不对您构成任何投资建议。用户应基于自己的独立判断,自行决定证券投资并承担相应风险。《东方财富社区管理规定》