首家数据科技央企!中国数联物流增资至100亿元
来源:大河财立方
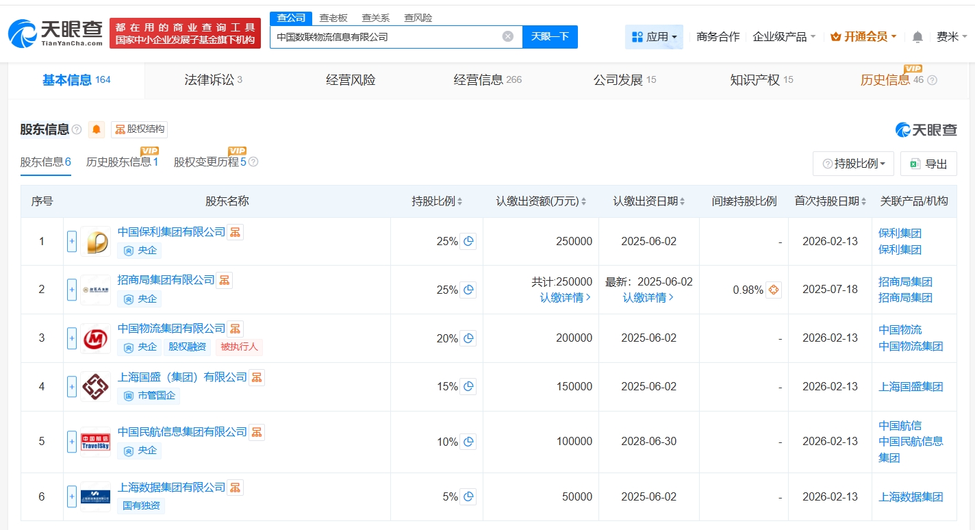
【大河财立方消息】天眼查App显示,近日,中国数联物流信息有限公司(简称中国数联物流)发生工商变更,新增中国保利集团、中国物流集团等股东,注册资本由4500万元增至100亿元。股权变更后,中国数联物流信息有限公司由招商局集团有限公司、中国保利集团有限公司分别持股25%,中国物流集团有限公司持股20%,上海国盛(集团)有限公司持股15%,中国民航信息集团有限公司持股10%,上海数据集团有限公司持股5%。
据新华社报道,2024年12月19日中国数联物流在上海成立,这是我国首家数据科技央企。中国数联物流由国务院国资委直接管理,为股权多元化企业。公司引入招商局集团、中国保利集团、中国物流集团、中国民航信息集团、上海国盛(集团)、上海数据集团作为战略投资者。
作为首家数据科技央企,中国数联物流将以公路、铁路、水路、航空、口岸等领域数据资源共享和开发利用为核心,整合物流与信息流、资金流,构建国家级物流大数据平台,以数字技术提升产业运营效率,服务实体经济发展,有效降低全社会物流成本。


郑重声明:用户在财富号/股吧/博客等社区发表的所有信息(包括但不限于文字、视频、音频、数据及图表)仅代表个人观点,与本网站立场无关,不对您构成任何投资建议,据此操作风险自担。请勿相信代客理财、免费荐股和炒股培训等宣传内容,远离非法证券活动。请勿添加发言用户的手机号码、公众号、微博、微信及QQ等信息,谨防上当受骗!
评论该主题
帖子不见了!怎么办?作者:您目前是匿名发表 登录 | 5秒注册 作者:,欢迎留言 退出发表新主题
温馨提示: 1.根据《证券法》规定,禁止编造、传播虚假信息或者误导性信息,扰乱证券市场;2.用户在本社区发表的所有资料、言论等仅代表个人观点,与本网站立场无关,不对您构成任何投资建议。用户应基于自己的独立判断,自行决定证券投资并承担相应风险。《东方财富社区管理规定》