《科创板日报》1月5日讯(记者黄修眉)近日,天津爱思达航天科技股份有限公司(下称:“爱思达航天”)发生工商变更,注册资本从5126.15万元增加到1.6亿元,增幅约为212.13%。
公开信息显示,爱思达航天成立于2018年3月,是一家专注于航空航天轻量化结构及结构功能一体化产品的企业,是国家专精特新重点“小巨人”企业。该公司于2025年6月启动科创板IPO辅导,辅导机构为中金公司。最新备案信息显示,该公司于2025年9月完成第一辅导工作。
该公司在轻量化构件结构设计、新材料研发应用、先进制造工艺等方面具备软硬件核心技术,研发配套的运载火箭整流罩等构件、卫星构件、地面装备产品、无人机产品、轨道交通轻量构件已通过多次各种飞行试验、地面试验等考核验证。
2019年7月25日,星际荣耀的双曲线一号火箭在酒泉卫星发射中心腾飞,这标志着中国民营运载火箭的首飞成功。双曲线一号所采用的整流罩,正是爱思达航天倾力研制的全复合材料轻质化产品,这也是中国民营企业自主研发、制造并成功入轨飞行的运载火箭首例全复合材料整流罩。
此外,2024年的公开报道显示,爱思达航天彼时已助力商业航天火箭公司完成商业运载火箭10次成功发射,累计助力中国民营商业航天28次成功发射。目前,爱思达航天已为星际荣耀、星河动力、中科宇航、天兵科技、蓝箭航天、东方空间等多家商业航天公司提供了关键结构功能产品。
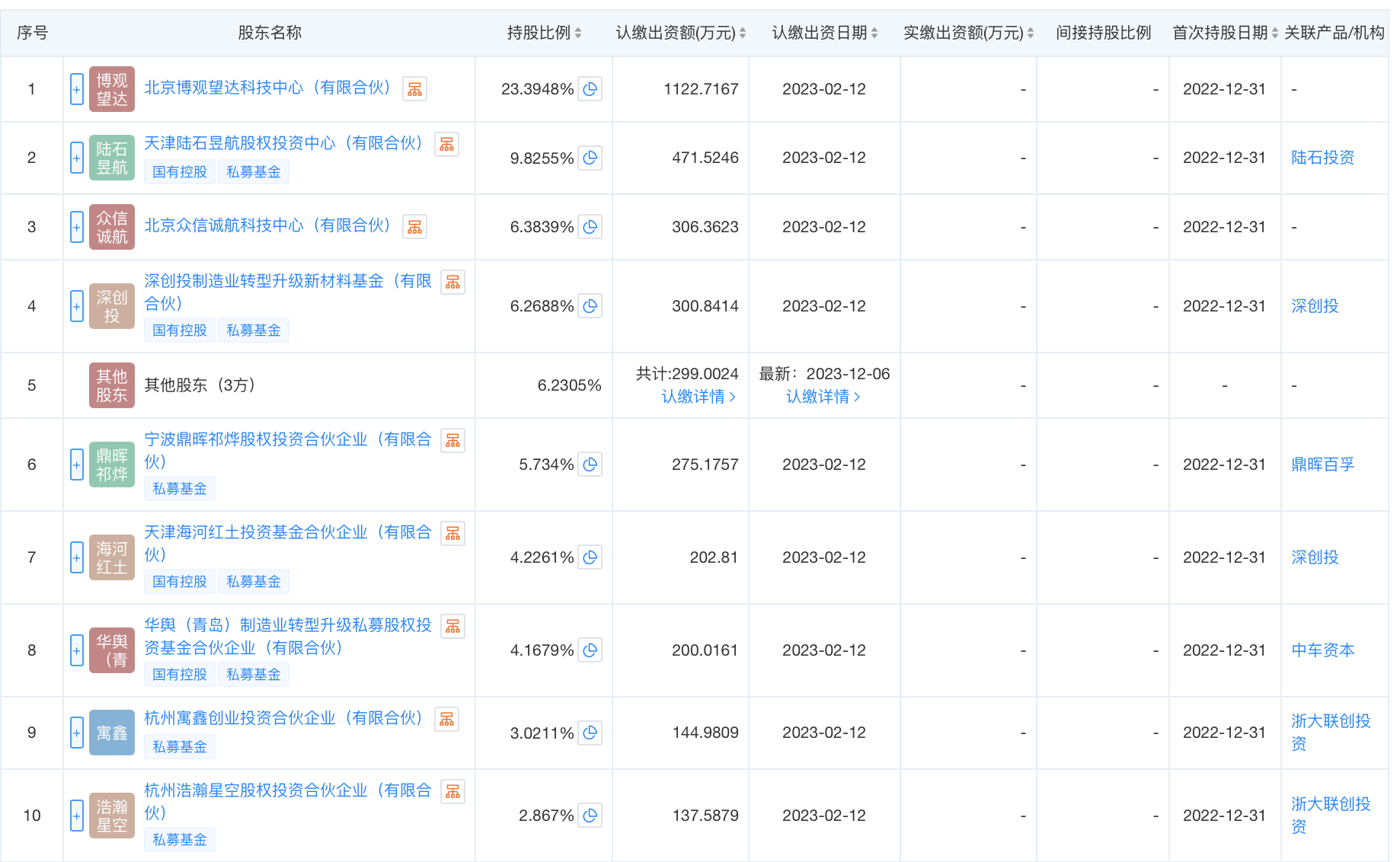
股权结构方面,爱思达航天法人代表张毅先生亦为公司控股股东、董事长,合计控制公司34.8%股份,为公司实控人。该公司现由北京博观望达科技中心(有限合伙)、天津陆石昱航股权投资中心(有限合伙)等共同持股。

公开报道显示,张毅出生于1964年5月,教授级高级工程师。历任化工部化工机械研究院助理工程师、工程师;天华化工机械及自动化研究设计院有限公司董事、副总经理、党委副书记、纪委书记等职务。
从该公司融资历程来看,自2018年首轮天使轮融资起,至2022年的B轮融资,爱思达航天累计进行过7次融资活动,其中包括陆石投资、深创投、中车资本、中新融创、兴雍资本等多家国有资本投资机构现身。

(图:爱思达航天最近两轮融资情况)