深圳商报·读创客户端记者梁佳彤
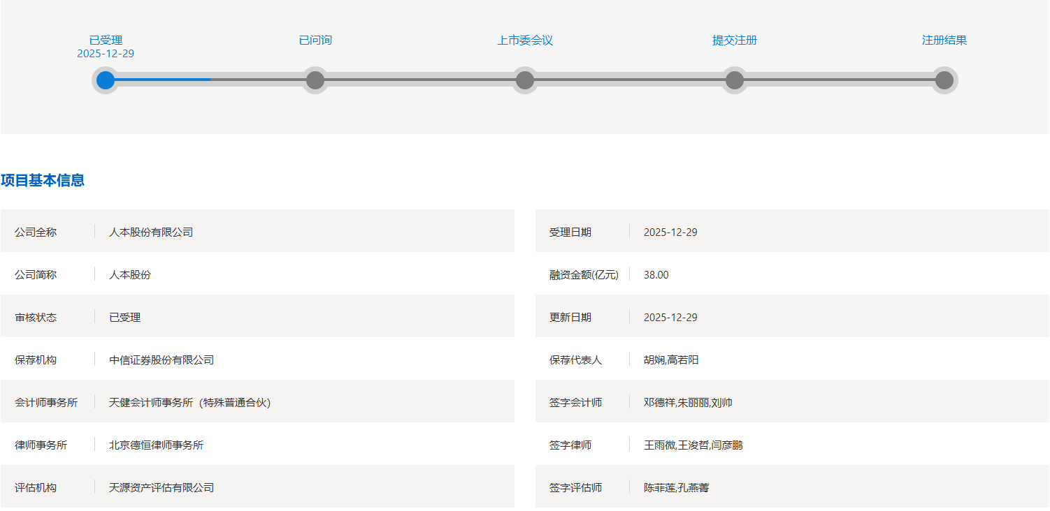
12月29日,据上交所官网,人本股份有限公司(下称“人本股份”)主板IPO获得受理。今年上半年,该公司应收账款已突破32亿元,资产负债率攀升至67%,而偿债流动比率与速动比率双双低于行业平均水平。

招股书介绍,公司主要从事轴承及相关产品的研发、生产和销售业务,是我国规模最大、品类最全的综合性轴承制造集团。公司轴承产品的型号规格超五万种,广泛应用于汽车工业、轻工机械、重型机械及重大装备等众多国民经济重要领域。
汽车轴承贡献45%营收
应收账款超32亿元
2022年至2024年及2025年上半年(下称“报告期”),公司营业收入分别为93.88亿元、104.82亿元、119.60亿元和64.71亿元;归母净利润分别为5.85亿元、6.25亿元、7亿元和3.13亿元。

在稳步增长的业绩背后,人本股份却面临着下游市场需求变化影响收入增长风险。2023年至2025年1-6月,公司汽车轴承收入占各期主营业务收入比例分别为39.16%、45.00%、45.97%和45.07%,是公司营业收入的重要来源之一。

人本股份坦言,报告期内,受益于公司汽车轴承技术的持续提升、新能源汽车行业的快速发展,汽车轴承业务实现了较快增长。未来,如果受新能源汽车补贴政策退坡、汽车销量增长放缓的影响,公司汽车行业客户产品销量下降,将对公司业绩带来不利影响。
此外,随着公司经营规模的增长,应收账款也随之攀升。报告期各期末,公司应收账款账面价值分别为21.87亿元、24.48亿元、27.88亿元和32.21亿元,占各期末流动资产的比例分别为25.09%、25.08%、25.52%和28.43%。
人本股份提示,如公司主要客户因市场竞争或外部经济环境等因素导致经营状况发生不利变化,公司应收账款可能出现不能及时收回或无法全额收回的情况,将对公司的流动性和经营业绩带来不利影响。
资产负债率达67%
分红5亿拟募10亿补流
负债方面,截至2025年6月末,公司合并报表资产负债率为66.63%,银行借款余额占负债总额的比例为62.39%,资产负债率较高。同时,公司为取得银行借款将部分房屋、土地使用权、设备等资产设置了担保抵押。
值得一提的是,公司偿债能力相关的流动比率和速动比率均低于同行均值。2025年上半年,公司流动比率为1.08,可比公司均值为2.07;公司速动比率为0.76,可比公司均值为1.63。

人本股份解释称,公司作为国内规模最大的轴承企业,持续性地进行产能提升和产线升级,且公司目前为非上市公司,获取资金的渠道较为有限,主要依靠自身积累和银行融资发展,导致公司的负债规模较大。
记者注意到,在资产负债率偏高的背景下,报告期内公司曾实施三次“大手笔”现金股利分红,累计金额超过5亿元。与此同时,公司本次IPO募投计划中,拟投入10亿元用于补流。
本次冲击上市,人本股份拟募集资金38亿元,扣除发行费用后将投入年产9000万套机器人及智能装备轴承项目、年产7500万套新能源车用轴承及高精密工业轴承项目、长寿命、高可靠精密轴承项目、高端装备用关键零部件产业化和自主替代项目。

子公司曾遭多次行政处罚
涉及环保、安全生产等方面
招股书显示,报告期内,人本股份部分子公司因在税务、环保及安全生产等方面存在违规行为,受到相关行政处罚。其中,芜湖汽轴公司被处罚金额超40万元。
2023年12月,芜湖汽轴因产生含挥发性有机物废气的生产设备未在密闭空间中生产,未安装使用污染防治设施,被处以5.8万元罚款;因更换和新增部分生产设备未经验收投入使用,被处以32万元罚款。
2024年10月,芜湖汽轴因未经海关许可,擅自将海关监管货物用于抵押,被处以3万元罚款。
安全生产处罚方面,2024年11月,旭川建筑的承包方在维修施工时发生一起高处坠落事故。2025年5月,旭川建筑因落实安全生产主体责任不到位,未与事故承包方签订专门的安全生产管理协议,未对事故承包方的安全生产工作统一协调、管理,被处以4万元罚款。
2022年3月,湖州诚基因存在有较大的危险因素场所未设置安全警示标志的行为,被处以1.5万元罚款。2023年1月,湖州以创精工因工业机器人未设置安全防护设施以及配电箱未安装漏电保护器、未张贴安全警示标志,被处以3.5万元罚款。