海量财经丨上海世茂建设公司被恢复执行5.4亿元
来源:海报新闻
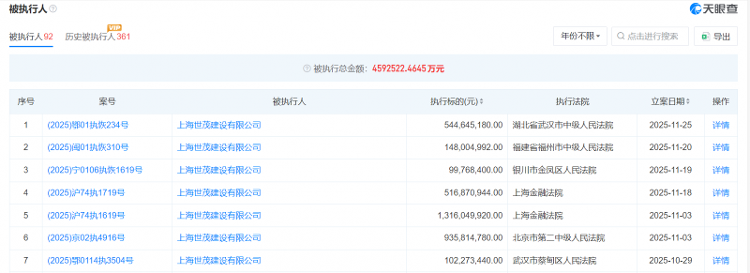
近日,上海世茂建设有限公司新增一则恢复执行信息,执行标的5.4亿元,执行法院为湖北省武汉市中级人民法院,立案日期为11月25日。

来源:天眼查官网
天眼查官网显示,除上海世茂建设有限公司外,该案被执行人还有泰州世茂酒店有限公司、合肥悦盈置业有限公司、上海著卓企业管理有限公司。
上海世茂建设有限公司成立于2001年,法定代表人为颜华。公司经营范围包括房地产开发、经营、旧房改造及经营(含出租、出售)、物业管理、室内装潢、企业管理咨询。
据天眼查信息,该公司现存被执行人信息有90余条,被执行总金额达459.25亿元。此外,该公司还存在多条限制消费令和失信被执行人信息。
上海世茂建设有限公司为世茂集团控股有限公司(下称“世茂集团”)的附属公司。
10月10日,世茂集团发布三季度财报。截至2025年9月30日,集团的累计合约销售总额约为192.17亿元,集团的累计合约销售总面积为1,582,061平方米。截至2025年9月30日止九个月的平均销售价格为每平方米12,147元。集团于2025年9月的合约销售额约为19.01亿元,合约销售面积为155,245平方米。
2025年上半年,世茂集团实现营业收入148.27亿元,同比下降49.2%;归属于公司权益持有人的亏损约为89.34亿元,较去年同期亏损226.68亿元有所收窄。
郑重声明:用户在财富号/股吧/博客等社区发表的所有信息(包括但不限于文字、视频、音频、数据及图表)仅代表个人观点,与本网站立场无关,不对您构成任何投资建议,据此操作风险自担。请勿相信代客理财、免费荐股和炒股培训等宣传内容,远离非法证券活动。请勿添加发言用户的手机号码、公众号、微博、微信及QQ等信息,谨防上当受骗!
评论该主题
帖子不见了!怎么办?作者:您目前是匿名发表 登录 | 5秒注册 作者:,欢迎留言 退出发表新主题
温馨提示: 1.根据《证券法》规定,禁止编造、传播虚假信息或者误导性信息,扰乱证券市场;2.用户在本社区发表的所有资料、言论等仅代表个人观点,与本网站立场无关,不对您构成任何投资建议。用户应基于自己的独立判断,自行决定证券投资并承担相应风险。《东方财富社区管理规定》