期权智投播报 | 福特汽车业绩超预期 放量上涨 多张call单涨超3倍
来源:哈富证券
一、美股指数期权一览
当前美股指数期权市场成交量略有上行,认沽/认购比例小幅度下行,多头力量有所退场。
今日到期的标普500指数期权成交量分布:Call单与Put单分布存在分歧,Put单峰值在6810点,Call单峰值在6875点。
今日到期的纳斯达克100指数期权成交量分布:Call单峰值为25530,Put单峰值在25100点。
二、美股期权成交榜
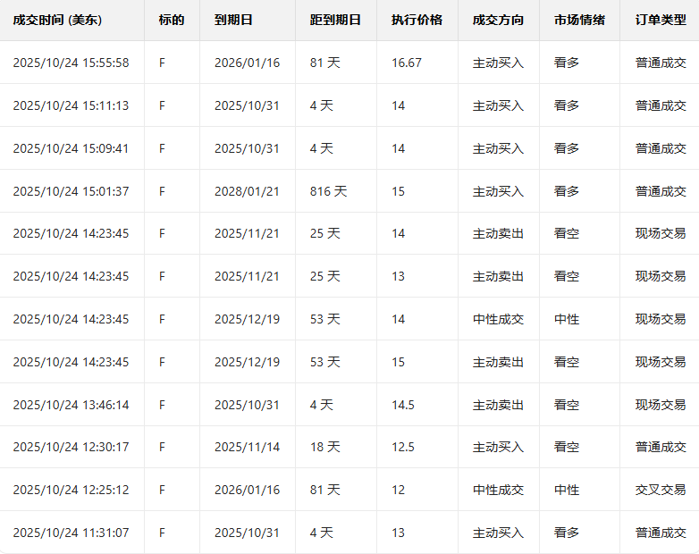
1、福特汽车上一交易日涨12.16%,前一日认沽/认购比例大幅度下行,成交量上行,多头气势如虹。
观察本周五到期的call单,多张涨幅超3倍。

观察期权异动大单,临收盘前,大户看多为主。

消息面上,福特汽车(F)2025年的调整后息税前利润(EBIT)指引引起了投资者的广泛关注,但美国银行证券分析师在周五的一份报告中表示,其核心业务“强劲”,表现比第四季度的预期高出10亿美元。
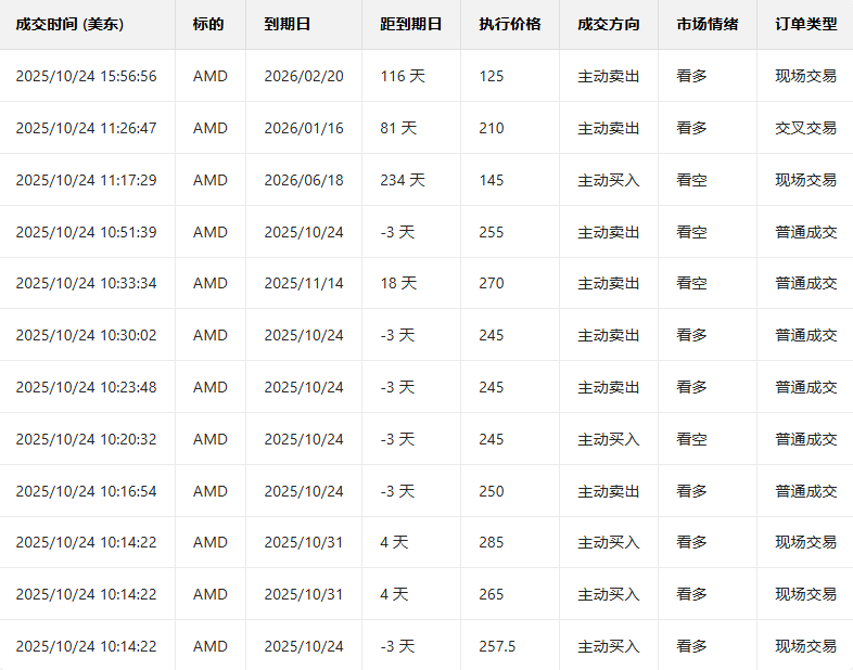
2、美国超微公司上一交易日涨7.63%,前一日认沽/认购比例小幅度上行,成交量上行,多空博弈激烈。
观察本周五到期的call单,多张涨幅超3倍。

观察期权异动大单,临收盘前,大户以看多为主。

美股期权成交量排行榜前十

美股期权波动率排行榜前十

三、美股ETF期权成交榜美股ETF期权成交量排行榜前十

美股ETF引申波幅排行榜前十(标的要求:市值>100亿美元)

郑重声明:用户在财富号/股吧/博客等社区发表的所有信息(包括但不限于文字、视频、音频、数据及图表)仅代表个人观点,与本网站立场无关,不对您构成任何投资建议,据此操作风险自担。请勿相信代客理财、免费荐股和炒股培训等宣传内容,远离非法证券活动。请勿添加发言用户的手机号码、公众号、微博、微信及QQ等信息,谨防上当受骗!
评论该主题
帖子不见了!怎么办?作者:您目前是匿名发表 登录 | 5秒注册 作者:,欢迎留言 退出发表新主题
温馨提示: 1.根据《证券法》规定,禁止编造、传播虚假信息或者误导性信息,扰乱证券市场;2.用户在本社区发表的所有资料、言论等仅代表个人观点,与本网站立场无关,不对您构成任何投资建议。用户应基于自己的独立判断,自行决定证券投资并承担相应风险。《东方财富社区管理规定》