上证报中国证券网讯(记者王玉晴)金沙江创投2月24日宣布,该机构与全球规模最大的专注于私募资产二级市场投资的科勒资本(Coller Capital)成功完成一笔GP主导私募二级市场交易。此次交易总规模为2.29亿元,涵盖八项中国消费与科技行业的优质高增长型资产。科勒资本旗下人民币私募二级市场基金“科勒资本私募二级市场第一期人民币基金”是本次交易的唯一领投方。
企查查显示,八项资产所属的基金“苏州金沙江朝华创业投资合伙企业(有限合伙)”(简称“金沙江朝华”)成立已近10年。通过本次S交易实现退出的原LP有8家,这些LP关联机构包括元禾辰坤、歌斐资产等。
原LP实现完全退出科勒资本“接力”
金沙江创投主管合伙人朱啸虎表示:“科勒资本是全球顶尖的二级私募股权交易机构,也是人民币市场的先行者,我们非常荣幸能和科勒资本联手完成本次交易。双方长期看好中国市场,相信通过双方的紧密合作能够实现多方多赢局面。中国私募二级市场日渐活跃,S基金也日益成为私募股权基金重要的退出策略之一,对GP的交易能力和底层资产的质量和持续性也提出了更高要求。金沙江创投将继续努力创造多元化的退出机会,持续为投资人带来优秀回报。”
科勒资本投资主管杨战表示:“我们很高兴与金沙江创投合作,牵头完成这一笔重要交易。金沙江创投团队对其投资组合的长期增长有充分的信心,并始终秉持高度的专业性与透明度,积极履行他们对于LP利益的承诺。科勒资本在中国市场搭建的完备投资平台,以及在处理复杂GP主导交易方面的深厚专业知识,是我们成功发起并以具有吸引力的估值完成本次交易的关键。随着中国私募股权市场不断发展,我们将继续致力于提供创新、定制化的解决方案,以满足基金管理人及其投资者的流动性需求。”
科勒资本合伙人兼亚洲及人民币策略负责人金俊皓表示:“过去数年间,中国的私募二级市场生态体系迅速发展成熟,为投资者带来了更多交易优质资产的机会。借助我们的人民币平台与广泛的本土关系网络,我们很高兴以创新的交易结构完成了又一笔重要交易。这一成果突显了我们致力于推动人民币私募二级市场增长的承诺。”
企查查显示,无锡科勒一期创业投资合伙企业(有限合伙)(简称“科勒一期”)共有三笔对外投资,均投向私募基金。三家私募基金的关联机构分别是君联资本、金沙江创投和辰德资本。

科勒一期投向三家私募基金
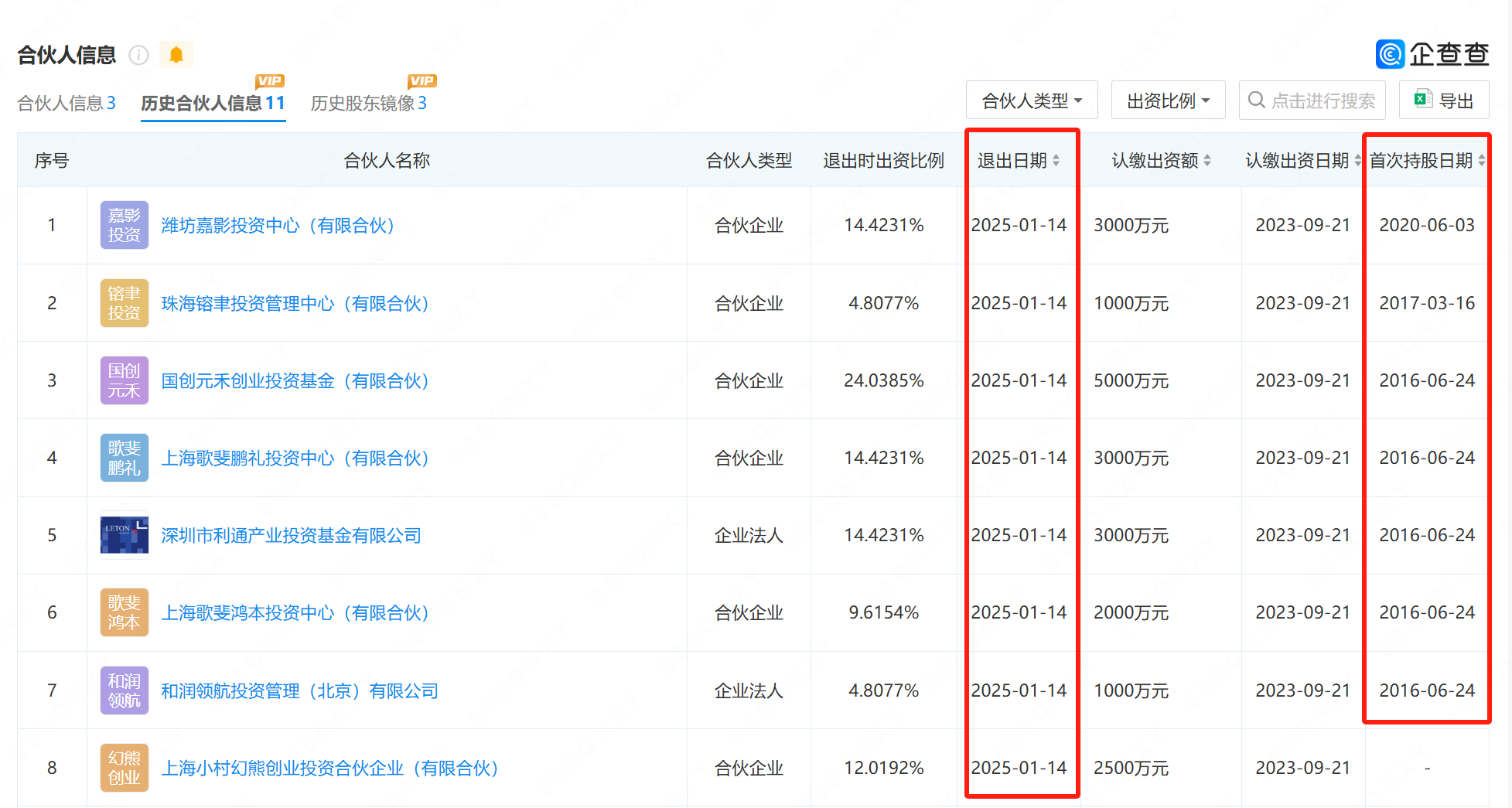
其中,科勒一期对金沙江朝华出资比例达81.5377%,首次持股日期为2025年1月14日。
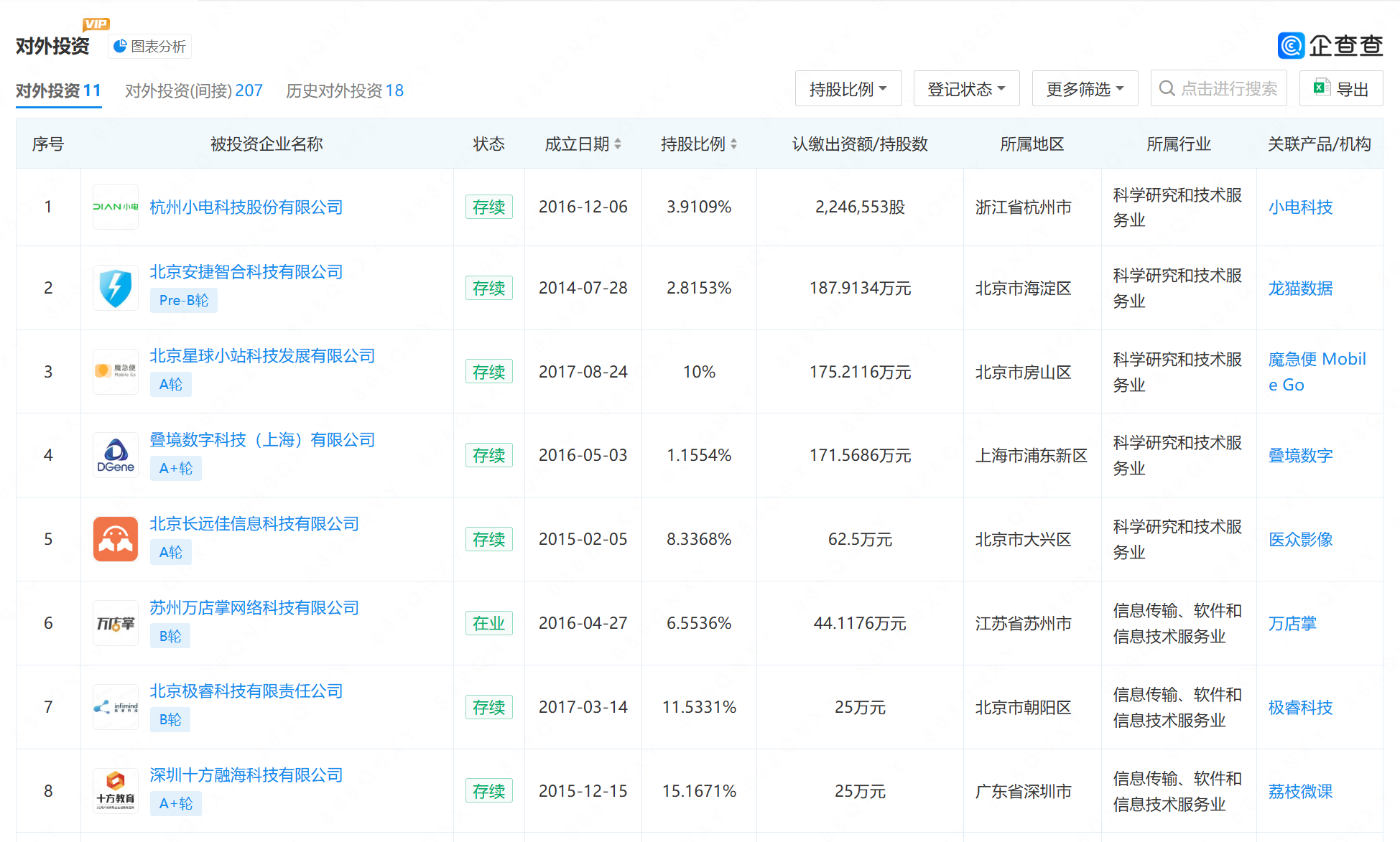
企查查显示,金沙江朝华对外投资11家企业,剔除风险企业3家,剩余8家。8家企业的关联品牌包括小电科技、龙猫数据、魔急便Mobile Go、叠境数字、医众影像、万店掌、极睿科技、荔枝微课。

金沙江朝华投资组合剔除风险企业3家,剩余8家
与科勒一期同日“接力”这一投资组合的还有无锡市太湖爱思创业投资合伙企业(有限合伙),它亦是科勒一期的出资人。它的背后是无锡市国资,LP为无锡市创新投资集团有限公司。
交易后,原有LP们实现完全退出,这些LP的关联机构包括元禾辰坤、歌斐资产等。它们的首次持股日期最早可以追溯到2016年,至今已有9个年头。

通过本次S交易实现退出的机构
2025年S市场有望进一步活跃
在私募股权投资“退出难”的大背景下,通过S交易实现退出已越发受到国内投资机构的重视。
2025年国办1号文件《关于促进政府投资基金高质量发展的指导意见》提出:“拓宽基金退出渠道。推动区域性股权市场规则对接、标准统一。鼓励发展私募股权二级市场基金(S基金)、并购基金等。”在国家层面再次释放发展S基金的积极信号。
赋航资本在《S市场2024年终报告》中回顾,2024年S市场的关注度继续提升,国资S基金和金融机构更为活跃地参与S市场,2025年预计S交易将进一步增加。
具体来看,2024年,在资产端,Mid/Late S成为交易的主旋律,其中Late S主要关注流动性资产,Mid S主要挑选垂直领域核心资产。更多类型的GP积极参与S交易,知名品牌GP的S交易首次超过小众/黑马GP,上榜GP的成熟期基金占比显著升高。S基金/FOF份额的二次转让开始兴起。
买方特点上,2024年机构化趋势已越发明显,国资S基金和金融机构更为活跃地参与S交易,买方对资产理解和定价能力逐步提升。
从交易端来看,2024年更多复杂交易浮出水面,比如母基金份额、结构化、接续重组等。多地股交平台获得S交易资质,国资交易规则不断完善。
展望2025年,赋航资本认为,更多国资LP将作为卖方入场,从而提升单笔交易规模和国资卖方的整体交易占比。GP作为直接出让方转让底层资产的数量和规模快速上升,更多多样化的资金将涌入S市场,供大于求的状况将有所改善,交易活跃度有望进一步提升。一二级市场估值回归理性,买卖双方的价格预期差异有望缩小。各地股交平台的规则更加完善、案例更加丰富,有望引领国资及金融机构的买卖方双边活跃,为市场带来更多交易机会。