• 最近访问:
发表于 2022-09-02 11:48:29 东方财富Android版 发布于 河南
转发
发表于 2022-09-02 11:23:16 发布于 河南

本文共4396字,前半部分公司经营分析,后半部分更精彩,请耐心观看。


2022年5月14日,中国商飞即将交付首家用户的国产客机C919首飞成功,在商用飞机这个受西方卡脖子的赛道,国产替代正逐步打破波音和空客的垄断。是一个规模大,科研能力强,发展周期长的热门投资行业。

2022年5月23日,中国商飞发布一则市场预测,2039年中国商飞旗下的C919和ARJ21机型市场规模将达4万亿元。

图片

早在中国商飞发布市场预测之前,河南一家C919供应商于2021年底发布了《公司“十四五”发展规划纲要》提出了“511”发展规划。公司将用5年时间,实现年营收100亿,年利税总额超10亿。

根据2021年年报数据,2021年营收23.63亿,净利润仅0.24亿。5年实现利润增长40倍,二级狗看了简直满眼冒金光,恨不得马上满仓买入。这时候,村口算命的王瞎子拉着我说,要淡定,让子弹再飞一会。



行业竞争激烈,跨界谋求利润新增长点

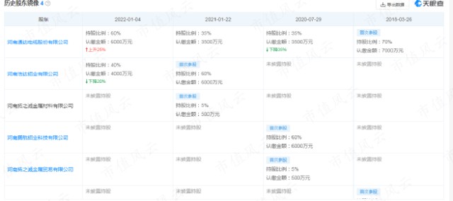
史万福、马红菊夫妻于1987年创办“偃师电料厂”,主营电线电缆生产制造,用于铁路城轨、配网、建筑,及特高压等。夫妻二人抓住国家电网工程大规模建设机遇,做大做强,逐渐成长为行业知名企业,2011年以9.65亿营收、5704万净利润的业绩在中小板上市。

市场大,竞争更大。电缆行业入场门槛低,经过多年发展,整体技术成熟,参与者多,蓝海变红海。下游客户集中为电网、铁总等垄断公司,话语权不强,利润率偏低是电缆行业特性。

图片

影响通达股份利润点在于原材料价格波动

通达股份采用“闭口价”招标协议,签订协议时规定好售价。生产电缆的主要成本在于上游原材料铝、铜,由于售价固定,期间铜、铝的价格波动会对公司成本产生较大的影响。

近些年全球碳中和及石油价格暴涨,导致铜、铝生产受限,价格持续上涨,电缆生产成本也随之提高。通达股份的电缆业务毛利率波动较大,几次出现大幅下滑。

通达股份给出的解释是由于铜、铝原材料涨价导致。这说明通达股份的期货对冲套保不能很好的锁定成本,大宗商品涨价对原材料成本占比高的公司来说,是不利的事情。


穿绸子吃粗糠

如人饮水,冷暖自知。电缆业务行业天花板比较低,原小贷业务也经营不利,只能另辟蹊径寻找新的业绩增长点。2016年,通达股份2.9亿并购净资产2千万的成都航飞,正式跨入军工大飞机行业。

成都航飞并购时承诺2016-2018年利润分别为2000万、2600万、3380万,最终踩线完成。但利润率步电缆后尘。营收从2800万增至1.56亿,但利润率从2016年的60%下滑至2021年的35%。

图片

究其原因,在于成都航飞经营模式是“来料加工”。加工设备从德国、日本采购,客户提供原材料,加工成零部件返还给客户,中间只赚加工费。

成都航飞是国内第一家引入德国DST智能化柔性加工生产线的企业,行业高端生产设备基本由国外垄断。据通达称,德国DST智能柔性加工生产线产能不高,非常抢手,国内有此生产线的公司极少。也正因如此,作为生产型企业,成都航飞才会有如此高的利润率。

图片

从通达股份的整体营收和利润看到,电缆业务2017、2018、2021年是亏损状态,成都航飞虽然短期国内竞争对手不大,可保持一定的利润率。但目前规模还比较小,想要实现5年100亿营收、10亿利润的目标不可谓没有挑战性。


缺钱、募资、缺钱

判断公司现状的前提是了解它的历史,通过历史动态经营分析去判断每一步经营抉择背后的缘由。如果总结通达股份上市十一年发展中轴线,那就是——“缺钱”。

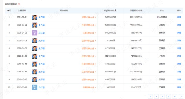
上市后,实控人史万福、马红菊夫妻便开始大比例股份质押所持股份,多次全额质押,中间还有数次延期解压,这种状态一直持续到2020年中。还曾为史万福及其持股40.5%的企业万年硅业做过大额担保,目前万年硅业已更名恒星新材料,涉及多笔诉讼,法人已被限高26次。(史总对新材料情有独钟)

图片

对于高比例质押的公司来说,股价的下跌尤为敏感,易触发强制平仓,维持股价稳定也成了通达股份那些年最重要的事情。2015年股灾,通达股份股价暴跌60%,公司先是停牌躲避暴跌,后在2015年8月增持6千万维稳股价。

图片

(股份变动图)

2016年11月17日,总经理曲洪普首先抛出减持475万股(总股本1.11%),随后股价再度暴跌,于2017年5月11日终止减持。

2018年1月8日,通达股份股价下跌幅度过大,总经理曲洪普宣布增持1000万-4000万,于2018年5月24、25日增持1千万结束。

2018年1月29日,实控人史万福宣布增持2000万-8000万,于2018年7月13增持结束,增持2515万,抄个历史大底。

2019年1月7日,曲洪普刚过了承诺不减持期,就宣布减持不超过500万股,(占个人持股19.96%,每年减持不得超过25%),于2019年3月15、18日减持300万股,约1700万元。

2020年7月23日,史万福将2015年6千万增持的股份清仓,减持金额9398万,获利3300万。

2021年1月8日,史万福再度发布减持公告,减持不超过2720万股,(占所持股份25%),顶格减持。2021年5-6月最终减持2162万股,套现约1.2亿。


企业经营靠融资

维稳股价和个人股份变动的同时,通达股份还一直奔走在融资的路上。

2011年IPO融资5.34亿,其中3.75亿用于补充流动资金,偿还贷款。

2013年5月,再次公告定增4.2亿。2014年2月募资4.42亿上市,全部投入线缆研发,后来1.91亿更改为补充流动资金。

收购成都航飞后,便宣布投资5.3亿建设航天部件生产线。并于2016年10月11日公告定增9.1亿。可是不巧,因再融资新政和减持新规的出台,2017年、2018年定增市场一片低迷,据wind数据显示,2016年定增规模高达1.69万亿,而2018年仅7523亿。通达股份定增历时一年半,2018年3月因募资不足宣告终止。

仅隔3天,便再次停牌,宣布定增7.4亿,最终只募集到8千万,其中2千万由总经理认购,另外6千万由河南某私募基金认购。宣布投资5.3亿,最终也调整为7441万。

图片

有意思的是,最终此基金公司未返还客户投资款,为此被告上法庭,举证时揭露了此次定增通达股份大股东对基金进行了保底。另外2千万由总经理认购,村口算命的王瞎子说,应该是劣后资金。

保底协议实际是明股实债,上市公司/实控人兜底对基金保本保收益,将有风险的股权定增通过抽屉协议转换为保本保收益的理财产品。如果最后股价上涨,那就会市场消化定增资金,大家双赢。

保底定增其实比较常见,一直游走在灰色地带。2020年2月14日证监会修改《上市公司非公开发行股票实施细则》,新增第二十九条,“上市公司及其实控人、主要股东不得向发行对象做出保底保收益或变相保底保收益承诺,且不得直接或通过利益相关方向发行对象提供财务资助或者补偿”,才算明确给保底定增上了枷锁。

保底定增把风险转嫁给了上市公司,本就资金困难,如果股价下跌进行补偿,对上市公司流动性是很严峻的考验,会增加操纵股价的动机。根据2020年公告披露的股东明细看到,此基金在解禁后,凑巧股价连续5个涨停板,于2020年2季度清仓退出,市场投资者来消化这部分钱,你好我好大家好。

2020年4月,上一期定增股份刚刚解禁,通达股份再次定增募资6亿,于2020年10月上市,最终募资5.9亿,发行价8.01元。根据股东变动明细来看,这笔定增的参与者都是亏损出局,不知这笔定增史万福老板还有没有保底。

上市十一年来,通达股份扣费净利润共5.05亿,派现2.04亿,募资合计16.24亿,把定增玩的明明白白。村口王瞎子诚不欺我,能融钱谁还做实业啊



关联方交织复杂

“圣昊新材料”是通达股份铁杆供应商,根据年报数据显示,每年都是供应商前五。但此公司经营不善,牵扯多场官司,被列为失信执行人,破产清算,于2018年后退出供应商。当然,这么铁杆的客户不会到此结束。

图片

2019年,一家刚注册的公司“修武圣昊铝业”替代“圣昊新材料”进入供应商之列。有意思的是,两家公司出现多点巧合。

首先,两家公司注册地都在修武县五里源乡磨台营村。“圣昊新材料”的曾用名叫做“焦作圣昊铝业”,修武是焦作市下属的一个县。“圣昊新材料”2019年退出供应商,“修武圣昊铝业”2018年5月刚刚成立,还拿下了“圣昊新材料”之前的客户兴和电力新材料。另一方面,“修武圣昊铝业”法人叫做曲洪钦,与通达股份总经理曲洪普倒挺像,2016年马红菊也曾现身“圣昊新材料”股东之列。

图片

(2018年供应商)

图片

2016年10月,通达股份实控人马红菊入股“圣昊新材料”,并于2017年12月26日退出。作为多年的供应商,此举已经涉及到关联交易。不过因为占股不足5%,所以不需要披露。


重要客户牵扯子公司股东

还有些迷幻关系村口的王瞎子也看不懂,朦胧才最美。

2021年12月6日,通达股份公告以2700万收购持股子公司通达新材料25%股份,收购完成后持有通达新材料60%股份,并表。

图片

通达新材料成立于2018年3月,目前是通达股份重要营收来源。

2020年,通达新材料进行一次股权变更,“腾航铝业”持股60%,成为第一大股东。

“腾航铝业”的实控人崔颜丽于2021年1月14日退出此公司股东之列,通达新材料紧跟着进行股权变更,“浩达铝业”替代“腾航铝业”成为持股60%的第一大股东。而“浩达铝业”实控人正是崔颜丽,是退出“腾航铝业”前几天刚成立的新公司,所以只是换个壳。

“金航铝业”是通达股份2020年、2021年前五大客户,分别占总销售额的5.26%、15.37%。“金航铝业”的实控人郝建森于2020年12月30日退出“金航铝业”,并于2022年2月15日成为“腾航铝业”50%大股东。

重要客户和最大营收子公司股东就这么产生了牵连,当然,还有些更巧合的。

“金航铝业”和“腾航铝业”注册地均为巩义市产业聚集区,联系电话也都相同。三家公司的联系邮箱也都相同。

关系很乱,但也是最有意思的地方。简述一下:三家公司疑似关联方,即是客户,又是子公司股东,如果学习过股权关系的朋友,应该更容易理解。

图片

当然,这些“巧合”并不能说明三家公司存在关联关系,毕竟在股权上没有直接牵扯。据此通达股份董秘称:和对方只是合作关系,并不清楚合作方信息。


百亿营收不是梦

通达股份在2021年12月14日拟设立通达新材料研发中心,以稀土材料、合金材料、稀土永磁材料为切入点。

据2022年半年报显示,本期营业收入26.14亿,同比增加167.73%,增速亮瞎眼。细看发现扣非净利润2792万,同比下降28.39%。

我查看半年报,新业务铝板带营收13.23亿,是今年营收增加的来源,不过毛利润只有1.27%。不赚钱的业务确实容易带来营收,这样下去100亿营收确实不是梦,但是10亿利润如何实现呢?

刚发完半年报,2022年8月30日,通达股份发布实控人减持预披露公告。实控人史万福因个人资金需求,将在未来6个月内减持不超过总股本3%。2021年5月31日、6月4日,史万福刚减持总股本4.1%,套现约1.1亿。目前史万福质押率39.99%。

我去找王瞎子问个大家都很关心的问题,怎么才能发财走向人生巅峰?

半仙一句话惊醒梦中人,想发财要先搞跨界生态循环,再搞融资重组并购,跟上行业风口,打造多业务模块协同发展,让所有人知道,我们即将走向人生巅峰。

听的热血澎湃,可是那些热门行业没做过不懂,万一亏了咋办?现在手里也没钱,投资资金怎么解决呢?请半仙指点。

你见有几个大佬追风口用的是自己的钱?

嗯...说的好像有道理。


免责声明:

本文是基于上市公司公众公司属性,以上市公司根据其法定义务公开披露的信息(包括但不限于临时公告、定期报告和官方互动平台等)为核心依据的独立第三方研究。本文力求所载内容及观点客观公正,但不保证其准确性、完整性、及时性等,如果数据错误请联系核实更正。本文中的信息及所表述的意见不构成任何投资建议,本文作者亦不对因使用本文所采取的任何行动承担任何责任。

相关证券:
  • 通达股份(002560)

(来源:河南省资本圈的财富号 2022-09-02 11:23) [点击查看原文]

郑重声明:用户在财富号/股吧/博客等社区发表的所有信息(包括但不限于文字、视频、音频、数据及图表)仅代表个人观点,与本网站立场无关,不对您构成任何投资建议,据此操作风险自担。请勿相信代客理财、免费荐股和炒股培训等宣传内容,远离非法证券活动。请勿添加发言用户的手机号码、公众号、微博、微信及QQ等信息,谨防上当受骗!
作者:您目前是匿名发表   登录 | 5秒注册 作者:,欢迎留言 退出发表新主题
温馨提示: 1.根据《证券法》规定,禁止编造、传播虚假信息或者误导性信息,扰乱证券市场;2.用户在本社区发表的所有资料、言论等仅代表个人观点,与本网站立场无关,不对您构成任何投资建议。用户应基于自己的独立判断,自行决定证券投资并承担相应风险。《东方财富社区管理规定》

扫一扫下载APP

扫一扫下载APP
信息网络传播视听节目许可证:0908328号 经营证券期货业务许可证编号:913101046312860336 违法和不良信息举报:021-34289898 举报邮箱:jubao@eastmoney.com
沪ICP证:沪B2-20070217 网站备案号:沪ICP备05006054号-11 沪公网安备 31010402000120号 版权所有:东方财富网 意见与建议:021-54509966/952500