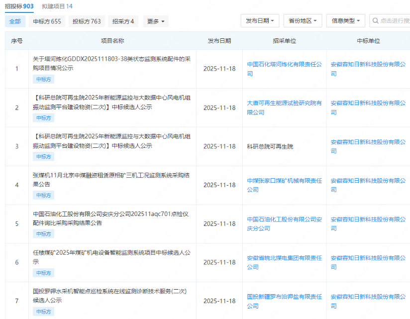
容知日新昨天可以啊,一把直接中了7个标!瞅了眼,全是石化、风电、煤炭这些行业,客
容知日新昨天可以啊,一把直接中了7个标!瞅了眼,全是石化、风电、煤炭这些行业,客户名单——中石化、大唐、皖北煤电…清一色的国企大厂。
之前还嘀咕它这订单能不能持续,结果人家反手就给你整了个“中标七连”,这频率和行业覆盖面,确实有点东西。说明它家那套监测系统是真被市场认了,而且是被几个不同行业的大客户反复采购,产品力和客户黏性看来是稳的。
之前悬着的心可以稍微放放了。

郑重声明:用户在财富号/股吧/博客等社区发表的所有信息(包括但不限于文字、视频、音频、数据及图表)仅代表个人观点,与本网站立场无关,不对您构成任何投资建议,据此操作风险自担。请勿相信代客理财、免费荐股和炒股培训等宣传内容,远离非法证券活动。请勿添加发言用户的手机号码、公众号、微博、微信及QQ等信息,谨防上当受骗!
评论该主题
帖子不见了!怎么办?作者:您目前是匿名发表 登录 | 5秒注册 作者:,欢迎留言 退出发表新主题
温馨提示: 1.根据《证券法》规定,禁止编造、传播虚假信息或者误导性信息,扰乱证券市场;2.用户在本社区发表的所有资料、言论等仅代表个人观点,与本网站立场无关,不对您构成任何投资建议。用户应基于自己的独立判断,自行决定证券投资并承担相应风险。《东方财富社区管理规定》