界面新闻见习记者|蒋习
年年亏损的工业机器人龙头埃夫特(688165.SH),又要出手收购了,这次看上的是一家流体控制设备公司。
1月26日晚,埃夫特公告称,拟筹划以发行股份及支付现金的方式购买上海盛普流体设备股份有限公司(下称盛普股份)股权。
埃夫特股票自2026年1月27日起停牌,预计停牌时间不超过10个交易日。
埃夫特是国内工业机器人龙头企业。根据MIR睿工业统计数据,2024年埃夫特国内工业机器人市场销售台数排名(含所有外资品牌)由2023年的第8位上升至第6位。
标的公司盛普股份是精密流体控制设备厂商,其产品包括光伏组件涂胶机、动力电池涂胶设备等,主要应用于新能源、汽车电子等产品的生产制造。
本次交易事项尚处于筹划阶段。埃夫特表示,目前正与交易意向方积极接洽,初步确定的交易对方为上海至骞实业发展有限公司等。
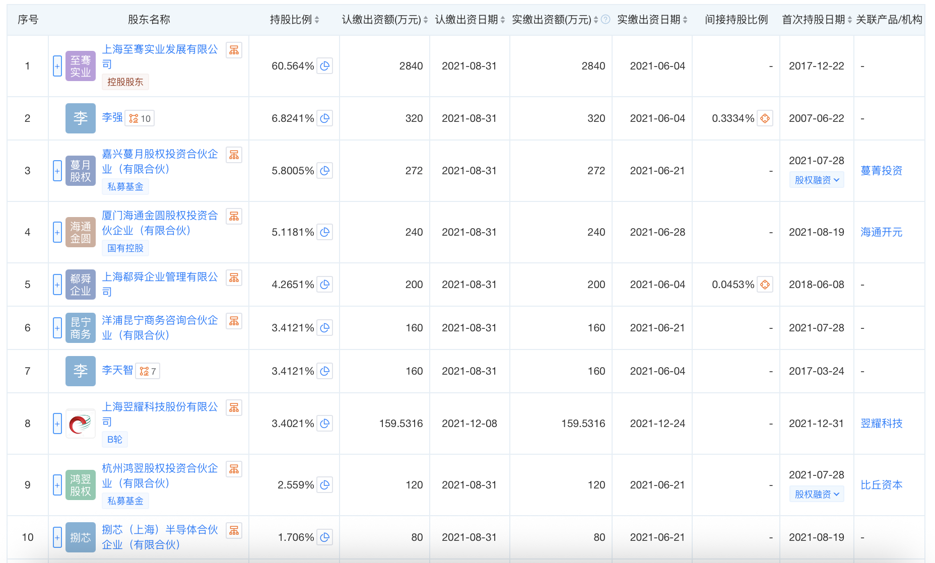
天眼查APP显示,上海至骞实业发展有限公司为盛普股份第一大股东,持股60.564%。

盛普股份前十大股东图片来源:天眼查
“埃夫特收购流体控制设备公司意图比较明显,因为它旗下拥有CMA这一喷涂机器人品牌,此次收购行为主要基于扩大喷涂市场份额与强化喷涂技术的战略考量。”中国机器人网总经理赵勇告诉界面新闻。
赵勇表示,全球市场中,喷涂机器人技术领先的公司主要包括杜尔、发那科、安川以及ABB等少数几家,它们在市场中占据了主导地位。在国内,专注于喷涂应用的公司相对较少,埃夫特目前拥有的喷涂机器人技术也是通过海外收购获得。
他进一步指出,从长期发展看,这项收购将助推埃夫特真正掌握喷涂领域的自主核心技术。
同日,埃夫特发布2025年业绩预告,预计2025年实现营业收入8.9亿元到9.5亿元,同比下降30.82%-35.19%;归母净亏损为4.5亿元-5.5亿元,亏损同比扩大186.34%-249.97%。
对于亏损原因,该公司表示,受欧洲汽车行业转型阵痛期影响,该公司集成业务收入整体下降超50%。
系统集成是工业机器人产业链下游主要的市场应用之一。
同时,2025年该公司部分行业头部客户的订单价格较低,导致出现低毛利甚至部分亏损订单,带来了阶段性亏损。其工业机器人业务整体毛利率同比下降约6至7个百分点。
自2020年上市以来,埃夫特始终处于亏损状态。2020-2024年,该公司累计亏损超7亿元。

制图:蒋习
回溯其发展历程,这并非埃夫特首次尝试通过并购寻求突破。
早在2015年,埃夫特便收购了欧洲智能喷涂机器人品牌CMA。据官网介绍,CMA是全球领先的智能喷涂机器人及成套解决方案提供商之一,累计全球销量已超3000套。
此后,埃夫特又陆续将EVOLUT、ROBOX、WFC等海外公司收入麾下,旨在强化其在高端喷涂、系统集成及控制系统等领域的综合实力。
然而,频繁的并购并未快速扭转经营局面,反而带来了沉重的财务负担——巨额商誉。
据该公司财报,截至2024年12月31日,埃夫特合并报表中的商誉账面价值为1.91亿元,占总资产5.25%,其中已计提减值准备1.31亿元,约占商誉原值的四成。
该公司指出,这些商誉主要源于2015年以来对CMA、EVOLUT及WFC等公司的收购。
这一财务结果在一定程度上表明,被收购的公司并没有达到埃夫特在收购前预期的经济效益。
界面新闻发现,此次收购的盛普股份,曾于2022年冲刺深交所科创板。
盛普股份的上市申请于2022年6月获受理,并在2023年1月顺利通过上市委会议。但2024年9月,该公司主动撤回了申请,结束了其历时约两年三个月的IPO进程。

图片来源:深交所
根据盛普股份2023年1月披露的招股书(上会稿),该公司业绩虽保持稳定,但增长动能已显不足。2022年1-6月,盛普股份净利润为2397.34万元,不足2021年的50%。

图片来源:盛普股份招股书(上会稿)
同时,其综合毛利率呈整体下滑趋势,从2019年的43.06%逐渐降至2022年上半年的38.78%。
2024年4月,深交所修订了《创业板股票上市规则》,提高了第一套上市标准的净利润门槛,将“最近两年净利润”指标从5000万元提升至1亿元,并新增了“最近一年净利润不低于6000万元”的要求,旨在强化上市企业的抗风险能力。
这一新规,很可能是盛普股份选择撤回IPO申请的关键原因。
此外,盛普股份还面临客户集中度较高的问题。
该公司产品下游应用覆盖光伏、动力电池、汽车电子等领域。在2019年-2022年上半年期间,其来自光伏领域的收入占比均超过90%。
盛普股份表示,光伏组件行业前五大厂商市占率在60%以上,其客户亦较为集中。
当前,工业机器人行业面临激烈竞争。
据界面新闻此前梳理,2025年前三季度,工业机器人本体上市公司业绩表现显著分化。其中净利润增长的机器人企业,更多得益于严格的费用控制与投资收益等非经营收益,而非工业机器人业务的直接贡献。
“工业机器人行业面临的核心矛盾是‘增量不增价’,”中国机器人网总经理赵勇告诉界面新闻,“说到底,这就是行业内部过度竞争导致的‘内卷’现象”。
研发投入也是工业机器人公司的一项重要支出。埃夫特表示,2024年下半年以来,该公司以智能机器人为核心的战略聚焦,投入具身智能领域的研究与开发,同时承担了大量智能机器人领域攻关任务。该公司2025年研发投入同比增长超6000万元。