• 最近访问:
发表于 2025-09-26 21:01:47 股吧网页版 发布于 上海
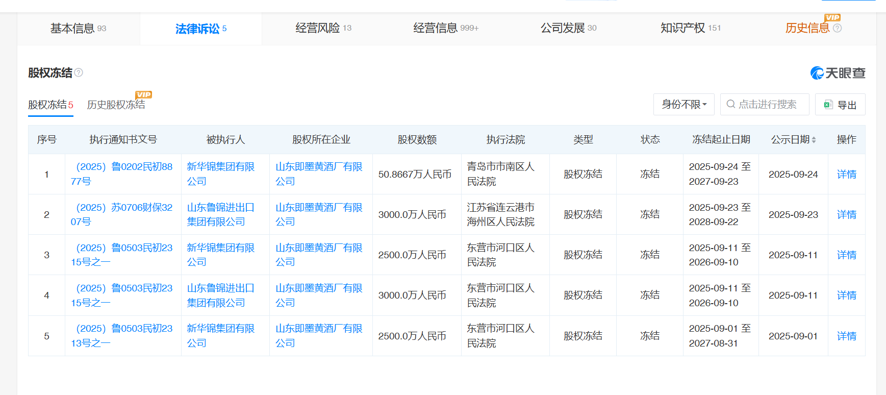
新华锦索赔登记。因资金占用未还被ST,年报整改后再转出4.06亿元。如未在6+2

新华锦索赔登记。因资金占用未还被ST,年报整改后再转出4.06 亿元。如未在6+2+2月内归还将被终止上市。上海则真律师事务所张猛律师团队提示:凡是2025年5月13日至2025年8月26日期间有买入,无论之后卖出或继续持有,受损投资者可通过公号“索赔集结号”登记索赔。

2025-09-27 10:00:55  作者更新以下内容



郑重声明:用户在财富号/股吧/博客等社区发表的所有信息(包括但不限于文字、视频、音频、数据及图表)仅代表个人观点,与本网站立场无关,不对您构成任何投资建议,据此操作风险自担。请勿相信代客理财、免费荐股和炒股培训等宣传内容,远离非法证券活动。请勿添加发言用户的手机号码、公众号、微博、微信及QQ等信息,谨防上当受骗!
作者:您目前是匿名发表   登录 | 5秒注册 作者:,欢迎留言 退出发表新主题
温馨提示: 1.根据《证券法》规定,禁止编造、传播虚假信息或者误导性信息,扰乱证券市场;2.用户在本社区发表的所有资料、言论等仅代表个人观点,与本网站立场无关,不对您构成任何投资建议。用户应基于自己的独立判断,自行决定证券投资并承担相应风险。《东方财富社区管理规定》

扫一扫下载APP

扫一扫下载APP
信息网络传播视听节目许可证:0908328号 经营证券期货业务许可证编号:913101046312860336 违法和不良信息举报:021-34289898 举报邮箱:jubao@eastmoney.com
沪ICP证:沪B2-20070217 网站备案号:沪ICP备05006054号-11 沪公网安备 31010402000120号 版权所有:东方财富网 意见与建议:021-54509966/952500