没有反思,全是诋毁?就这个格局如何发展? //@J5772025888 :$北汽
没有反思,全是诋毁?就这个格局如何发展? //@J5772025888 :$北汽蓝谷(SH600733)$所有企业都要和华为合作,你拿着享界这个好品牌,不全力以赴的快马加鞭的配合出新车去研发,磨磨唧唧对得起四界么?企业未来的发展都不要了?不明白你能活下来就靠享界这个车了吗?
◆
◆
发表于 2025-01-26 12:07:20
来源:界面新闻
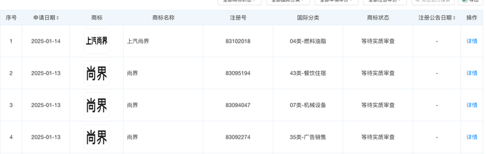
此前被传出将与华为合作的上汽集团,正在申请“界”字辈商标。
天眼查显示,近日上海汽车集团股份有限公司新提交“尚界”、“上汽尚界”等多枚商标,国际分类涉及机械设备和广告销售等,商标状态均为等待实质审查。

去年年底以来,上汽正与华为进行密切接触的消息便开始广泛流传。消息称,双方合作的项目由上汽总裁贾健旭亲自带队,或开辟华为目前与车企的三种合作模式(供应商、HI、智选车)以外的全新模式,甚至不排除上汽将战略投资华为子公司引望的可能。
虽然更深入的合作未得到双方证实,但双方此前已有合作先例。上汽旗下飞凡R7车型搭载了华为视觉增强AR-HUD平视系统,上汽奥迪也已经开始搭载华为的智驾技术。
上汽集团曾连续18年保持国内第一大汽车制造商的位置,去年销量下滑被比亚迪超越。上汽2024年实现整车批发销量401.3万辆,比上年同期减少20.07%。
同时,因燃油车市场下滑、价格战持续升级,上汽销售收入减少,毛利下降。上汽预计2024年归母净利润15亿元-19亿元,同比减少87%-90%。
华为与赛力斯、奇瑞、北汽和江淮汽车四家车企合作智选车模式,分别推出了问界、智界、享界和尊界四大品牌,“四界”此后升级成鸿蒙智行联盟。在该模式下,华为不仅参与车型的定义设计,提供智能化等关键技术,还为新车提供华为的渠道进行销售,这也是华为介入汽车领域最深的一种模式。
官方数据显示,鸿蒙智行2024年累计交付新车444956台,其中问界M9上市12个月累计大定突破20万辆,问界新M7年度累计交付突破19万辆,智界R7累计交付28969辆, 享界S9位列40万以上纯电轿车销量TOP1。
郑重声明:用户在财富号/股吧/博客等社区发表的所有信息(包括但不限于文字、视频、音频、数据及图表)仅代表个人观点,与本网站立场无关,不对您构成任何投资建议,据此操作风险自担。请勿相信代客理财、免费荐股和炒股培训等宣传内容,远离非法证券活动。请勿添加发言用户的手机号码、公众号、微博、微信及QQ等信息,谨防上当受骗!
评论该主题
帖子不见了!怎么办?作者:您目前是匿名发表 登录 | 5秒注册 作者:,欢迎留言 退出发表新主题
温馨提示: 1.根据《证券法》规定,禁止编造、传播虚假信息或者误导性信息,扰乱证券市场;2.用户在本社区发表的所有资料、言论等仅代表个人观点,与本网站立场无关,不对您构成任何投资建议。用户应基于自己的独立判断,自行决定证券投资并承担相应风险。《东方财富社区管理规定》