青岛啤酒前三季度净利润首破50亿元大关,此前宣布终止收购即墨黄酒100%股权。
10月27日,青岛啤酒股份有限公司(青岛啤酒,600600.SH)披露2025年第三季度报告,公司前三季度实现营业收入293.67亿元,同比增长1.41%;归母净利润52.74亿元,同比增长5.70%。
公司前三季度累计实现产品销量689.4万千升,同比增长1.6%,其中:主品牌青岛啤酒实现产品销量399万千升,同比增长4.1%;中高端以上产品实现销量293.5万千升,同比增长5.6%。
单季度来看,第三季度公司实现营业收入88.76亿元,同比下降0.17%;归母净利润13.7亿元,同比增长1.62%。

前三季度净利润首破50亿元大关
对于啤酒企业,三季度往往是一年中啤酒消费的旺季,而青岛啤酒的三季度业绩显然有些“拖后腿”。
Wind数据显示,青岛啤酒第三季度营收同比下滑,系年内首次。此外,青岛啤酒第三季度营收环比下降11.65%,归母净利润环比下降37.55%。
而从前三季度来看,青岛啤酒净利润首次突破50亿元大关,创下历史新高。

青岛啤酒近年来业绩表现,来自Wind数据
三季报还显示,截至报告期末,青岛啤酒经营活动产生的现金流量净额为58.16亿元,同比下降6.65%。此外,前三季度,公司销售费用和管理费用“一降一升”,其中销售费用33.99亿元,同比下降0.65%;管理费用9.61亿元,同比上升2.34%。
据三季报,青岛啤酒前三大股东依次为香港中央结算(代理人)有限公司、青岛啤酒集团有限公司、中国证券金融股份有限公司,持股比例依次为45.01%、32.51%、1.17%。其中,青啤集团持股数量包括了通过其自身以及全资附属公司香港鑫海盛投资发展有限公司(“鑫海盛”)持有的公司H股股份合计3833.56万股,其本身持有公司A股股份4.05亿股。
从行业排名(以营收为参考)来看,记者此前梳理2025年半年报发现,上半年,青岛啤酒营收为204.91亿元,在国内啤酒行业五大上市公司中位列第三,排在华润啤酒、百威亚太之后。华润啤酒、百威亚太的上半年营收分别为239.42亿元、31.36亿美元。
记者留意到,随着啤酒高端化竞争加剧,不少啤酒企业选择在精酿啤酒、特色饮品,甚至跨界等多方面发力。
关于产品创新方面的规划,在今年9月举行的2025年半年度业绩说明会上,青岛啤酒方面表示,上半年研发上市了“樱花味白啤、浑浊IPA及全麦国潮、全麦逸品”等多款特色产品,未来将继续在“轻干”产品的基础上推出具有零糖、低卡特点的“超干”系列产品,并会继续研发更多特色产品。
终止收购即墨黄酒:交割先决条件未能满足
就在披露三季报的前一天,青岛啤酒宣布终止收购即墨黄酒100%股权。
10月26日,青岛啤酒发布公告,披露关于收购即墨黄酒100%股权交易的进展。公告称,截至本公告披露日,《股权转让协议》约定的交割先决条件未能满足,本次股权收购交易终止,公司无须就《股权转让协议》终止承担任何违约责任。
此次交易自今年5月宣布至终止收购,前后历时5个半月,曾被外界视为青岛啤酒跨界发展的重要一步。
5月7日,青岛啤酒公告,为增强产业协同性及企业发展竞争力,当日,公司与新华锦集团有限公司(“新华锦集团”)、山东鲁锦进出口集团有限公司(“鲁锦集团”)及山东即墨黄酒厂有限公司(“即墨黄酒”)签订《股权转让协议》,公司拟从新华锦集团和鲁锦集团处受让其合计持有的即墨黄酒100%股权,相关对价为6.65亿元和价格调整期损益金额之和。本次股权收购交易完成交割后,公司将持有即墨黄酒全部股权,即墨黄酒成为公司的全资子公司,纳入公司合并报表范围。
据公告,通过本次股权收购持有即墨黄酒100%股权,公司积极拓展非啤酒业务跨产业布局,推动多元化发展。从市场销售淡旺季上,“即墨老酒”与公司啤酒产品可以形成市场销售的互补效应,构建更具市场竞争力的跨品类产品组合,在巩固公司传统产品市场地位的同时开辟新的增长点。
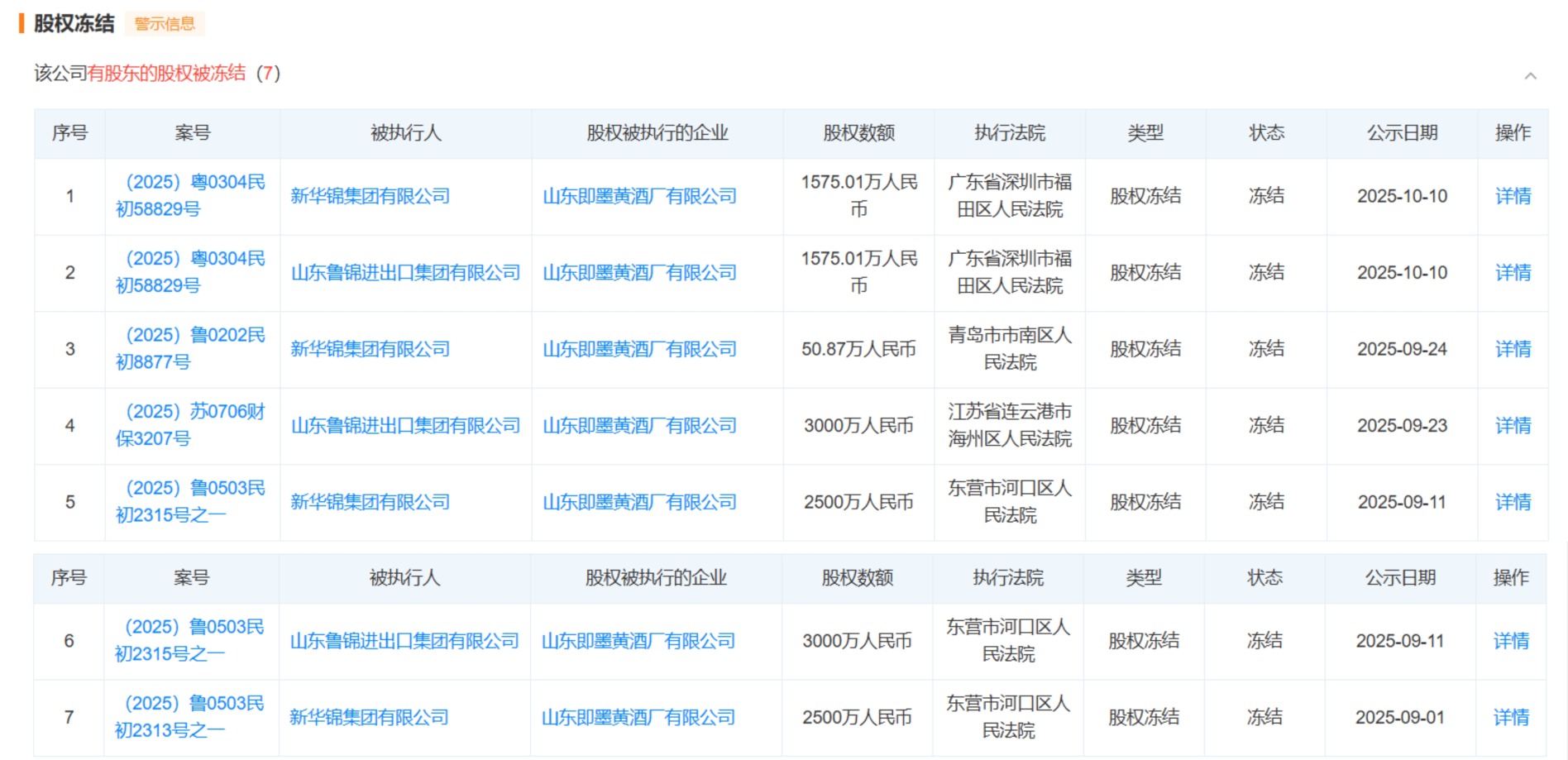
值得关注的是,天眼查显示,自今年9月以来,即墨黄酒接连新增多项股权冻结事项,当前累计被冻结股权数额超1亿元。

截图来自天眼查
青岛啤酒方面,在5月发布的公告中曾明确了收购即墨黄酒事项的相关履约安排,其中提及,于转让协议签署日至交割日的过渡期内,转让方(即新华锦集团和鲁锦集团)及目标公司(即墨黄酒)应履行转让协议约定义务,确保目标公司及其子公司在所有重大方面延续此前的正常经营,不会出现可能对目标公司及其子公司有重大不利变化的事件。如转让协议约定的交割先决条件未能于转让协议签署日后120日内达成或被本公司豁免,或者出现转让协议约定的其他情形,转让协议将被终止。
截至10月27日收盘,青岛啤酒报65.96元/股,跌0.20%;今年以来累计跌15.90%。