• 最近访问:
发表于 2025-12-21 21:13:39 股吧网页版
实探茅台镇“第二传奇”无忧酒业:三大产区仅一个投产,有销售人员称上半年销售额降3成
来源:红星资本局

K图 600519_0

  茅台镇的酒企有很多,贵州茅台(600519.SH)是当之无愧的老大哥,这也使部分酒企在制定目标时,往往只把目光放在第二名上。贵州无忧酒业(集团)有限公司(以下简称“无忧酒业”)就是其中之一。

  无忧酒业喊出的愿景口号是:茅台镇第二大传奇。

  不过,“第二大传奇”最近遇到了一些麻烦:先是被披露欠税,后一度成为被执行人;无忧酒业的董事长在12月还发公开信向经销商致歉,称“压倒一切的目标是:生存,并稳定基本盘”。

  12月中旬,红星资本局走访无忧酒业在茅台镇的三大产区发现:目前,无忧酒业的三大产区仅一个产区投产;另有销售人员称,今年上半年,其销售额同比缩减了1/3。

  实探无忧酒业厂区

  三大产区仅一个产区有人酿酒

  官网显示,无忧酒业现有无忧源、无忧山、无忧谷三大产区,占地面积400余亩,年产大曲酱香型白酒7000余吨,员工1400余人。

  12月中旬,红星资本局先后探访了无忧酒业的三大产区,发现:目前仅有无忧源一个产区投产,另两大产区的生产车间空置,产区内几乎没有人。

  在工作日的工作时间,红星资本局在进入无忧山产区时未遭遇阻拦,制酒车间、制曲车间和食堂等场所均没有工作人员,红星资本局在该产区内没有碰到任何人。

  以无忧山产区的制酒二车间(1号生产房)为例,红星资本局透过窗户看到,该车间内有多个窖池,但窖池内疑似没有任何装填物,没有酿酒的气味发散,也没有人在车间内工作。

  无忧谷产区的情况和无忧山相似,制酒车间没有酿酒痕迹,但有少量工作人员驻守,且有大卡车进出。据工作人员介绍,大卡车是把存放在无忧谷产区内的酒曲运送至无忧源产区。

  另外,无忧山产区的制曲车间内也有运输过酒曲的痕迹。有标牌显示,在制曲车间的6号干曲仓,进仓时间为2025年8月3日,库存量为216.93吨,没有出仓时间,但仓内已空。

  多名无忧酒业的工作人员告诉红星资本局,今年,只有无忧源产区投料生产,另两大产区均不投料,“那两个新厂没投,就投老厂这边(指无忧源产区),产量一年1000吨。”

  相比之下,无忧源产区是三大产区中最热闹的。该产区的制酒一车间(1号生产房)临街,且临街的大门是打开的,站在街边即可看到车间内工作人员正在酿酒。

  “上半年销售额同比缩减1/3”

  因经济纠纷一度被列为被执行人

  无忧酒业的销售人员唐庆(化名)向红星资本局透露称,前两年的销售情况相对较好,每年的销售额在10亿元左右,但今年受环境影响,销售额有所缩减。一般来说,上半年的销售额约为4亿元,但今年上半年的销售额缩减了约1/3。

  12月21日,红星资本局向无忧酒业相关负责人求证上述销售数据,截至发稿尚未得到回复。

  红星资本局注意到,无忧酒业的疲态最早在今年7月开始显露。

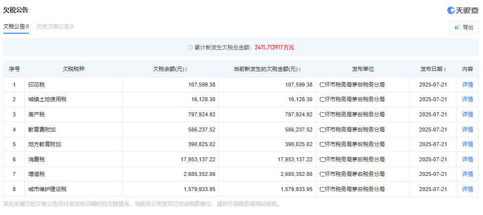
  天眼查App显示,7月21日,无忧酒业新增8条欠税公告,包括印花税、城镇土地使用税、房产税、消费税和增值税等税种,发布单位为仁怀市税务局茅台税务分局,欠税总金额约为2412万元。

a0144000-d033-4584-ab33-e1c37ad4328c.png

截图自天眼查

  据媒体报道,11月21日,贵州省遵义市仁怀市人民法院发出6份执行裁定书,把无忧酒业列为被执行人,涉及金额约为6255.51万元,这是无忧酒业首次被列为被执行人。

  “之前有被一些人起诉,就是经济纠纷,后来我们处理好了。对于我们这个行业来说,这是很正常的,只要不是资不抵债就没有太大问题。”唐庆对红星资本局说。

  12月21日,红星资本局在中国执行信息公开网查询发现,无忧酒业现已不是被执行人;另通过天眼查App查询,无忧酒业现仅有历史被执行人信息。

  资金出现问题,或也是无忧酒业今年仅一个产区投产的原因。

  唐庆告诉红星资本局,算上高粱和人力等成本,每个窖池大约要投入35万元到40万元;无忧源产区要生产1000吨的酒,总成本需要数千万元;而三大产区全部投产,需要投入3亿余元。

  董事长发公开信

  “唯一目的是与伙伴们共同消化库存”

  据媒体报道,12月1日,无忧酒业创始人、董事长袁明权发表致经销商伙伴的感谢信。他在信中表示,他对市场趋势的误判和过于激进的扩张策略负有不可推卸的责任,这导致无忧酒业在行业调整期陷入被动。除了无忧酒业的创始人,袁明权还有另一个引人关注的身份,据第一财经报道,2015年袁明权曾任贵州茅台的副总经理。

bd17bdee-afb4-47ae-bb6e-81522ad0bfd7.png

图据媒体

  今年以来,白酒行业进入调整期,有酒企及经销商渠道出现库存高企、批价倒挂等现象,部分酒企战略收缩,而彼时无忧酒业还有意扩张发展。

  据媒体报道,2025年6月,无忧酒业举办相关活动并表示,要打造成一个“品牌+品质”的“双品驱动”企业,计划三年累计投放30亿、2025年投入不低于10亿,构建海陆空一体品牌势能矩阵,实现线上+线下广告全覆盖。

  袁明权在前述公开信中表示,“公司已断然停止一切非核心扩张与投资,全员进入战时状态,压倒一切的目标是:生存,并稳定基本盘。”“唯一目的就是:与伙伴们共同消化库存、恢复动销、重建良性的市场循环。”随后,贵州省白酒企业商会也发布《关于支持贵州无忧酒业(集团)有限公司发展的呼吁声明》声援无忧酒业。声明中提及,“坚信无忧酒业的初心与能力从未改变。”

  而在两个产区暂停生产后,如何妥善安置工作人员,或也是无忧酒业亟待解决的问题。

  红星资本局在走访的过程中,得到关于员工处置的两种说法:一种说法是,相关员工暂时在家休息,等方案确定,该赔的赔,该回来上班就回来上班;另一种说法是,已赔偿遣散,但不清楚具体赔偿了多少钱。

  12月19日,红星资本局向无忧酒业的相关负责人提出采访邀约,但被拒绝;12月21日,红星资本局向相关负责人发送采访问题,截至发稿,尚未得到回复。

  另有无忧酒业的销售人员告诉红星资本局,“就像我们董事长说的,可能前期对于市场的判断(有误),步伐比较大,但是现在我们基酒已经烤了这么多,几万吨的基酒就是我们最大的底气,我们会不断地消化它,等市场慢慢恢复了,我们继续投产。”

郑重声明:用户在财富号/股吧/博客等社区发表的所有信息(包括但不限于文字、视频、音频、数据及图表)仅代表个人观点,与本网站立场无关,不对您构成任何投资建议,据此操作风险自担。请勿相信代客理财、免费荐股和炒股培训等宣传内容,远离非法证券活动。请勿添加发言用户的手机号码、公众号、微博、微信及QQ等信息,谨防上当受骗!
作者:您目前是匿名发表   登录 | 5秒注册 作者:,欢迎留言 退出发表新主题
温馨提示: 1.根据《证券法》规定,禁止编造、传播虚假信息或者误导性信息,扰乱证券市场;2.用户在本社区发表的所有资料、言论等仅代表个人观点,与本网站立场无关,不对您构成任何投资建议。用户应基于自己的独立判断,自行决定证券投资并承担相应风险。《东方财富社区管理规定》

扫一扫下载APP

扫一扫下载APP
信息网络传播视听节目许可证:0908328号 经营证券期货业务许可证编号:913101046312860336 违法和不良信息举报:021-34289898 举报邮箱:jubao@eastmoney.com
沪ICP证:沪B2-20070217 网站备案号:沪ICP备05006054号-11 沪公网安备 31010402000120号 版权所有:东方财富网 意见与建议:021-54509966/952500