海报新闻记者赵恩报道
近期,人民网领导留言板有多名自称福建漳州龙文区保利世茂璀璨滨江一期业主的网友留言称,房屋存在“墙面开裂”“钢筋裸露”等问题。
“承重墙出现大面积开裂”“屋内贴瓷砖,瓷砖直接被撕裂”“恳请领导介入调查,督促责任方彻底解决问题。”网友在留言中称。
2025年12月31日,漳州市住房和城乡建设局回应海报新闻记者称,对此事高度重视,坚持依法依规推进相关处置工作,计划于近期开展协调推进会,相关进展将及时公布。

来源:人民网领导留言板
记者看到,在社交平台上,也有IP为福建的网友曾就此事发帖,记者尝试私信但未获回复。
针对网友留言,漳州市住房和城乡建设局日前曾在平台予以回复,已对此进行调查。
据漳州市住房和城乡建设局调查了解,保利世茂璀璨滨江15#楼所在的(15-22#、S11、S12、S15-21#楼及地下室)项目于2018年9月4日开工,建设单位于2021年9月16日组织勘察、设计、施工、监理进行竣工验收,验收组织形式、程序符合规定,验收结论明确。
“针对15#楼存在的问题,市住建局成立专项调查组,通过组织现场踏勘、查阅工程监管记录、溯源排查商品混凝土、调阅项目归档档案、约谈责任主体、召开协调会、推动工程结构鉴定等方式,深入调查15#楼工程质量问题;向建设、施工单位发出书面通知,责令高度重视,抓紧推进整改处置工作。”该回复称。

来源:人民网领导留言板
回复显示,建研院检测中心有限公司(国家建筑工程质量检验检测中心)于2025年5月对15#楼实施房屋安全鉴定,9月5日向相关单位及业主提交鉴定报告,报告结论为:综合评定15#楼整幢建筑的安全性等级为Bsu级。该房屋的整体抗震性能满足《建筑抗震设计规范》GB50011-2010(2016年版)和《高层建筑混凝土结构技术规程》JGJ3-2010的要求。
报告同时显示,15#楼13层至15层部分混凝土构件含有冶金渣成分,需采取妥善的措施进行处理,消除对混凝土结构的不利影响。鉴定结果出具后,漳州市住建局、龙文区政府等部门多次组织召开开发商、施工单位、业主(或代表)见面会,广大业主(或代表)们充分表达了诉求。针对部分业主对鉴定报告提出的异议,漳州市住建局督促市工程建设质量安全协会依照《福建省房屋使用安全管理条例》规定组织开展复查。
漳州市住建局表示,后续将推进鉴定报告复查工作,针对专家评审提出的意见,督促鉴定机构补充完善。组织开展立案查处,根据国检中心检测鉴定报告显示15#楼部分混凝土构件含有冶金渣问题,依法对有关单位采取立案调查。开展楼栋监测,已组织有资质的监测机构对该楼栋开展监测工作,为后续整改提供工作支撑,坚决维护人民群众合法权益。
记者查询世茂集团官网发现,保利世茂璀璨滨江项目位于漳州市龙文区,开发商为漳州中世置业有限公司。
该项目介绍称,千亿世茂携手央企保利,首耀漳州,落子九十九湾,与漳州共同开篇闽南水乡,逾33万m²鸿篇巨制。该楼盘交房时间为2021年底,规划户数为2547,建筑面积为333825平方米。
据天眼查信息,漳州中世置业有限公司现用名为漳州中世房地产开发有限公司,成立于2018年,企业注册资本1000万人民币。股权穿透结果显示,该公司由南京冠台企业管理咨询有限公司和福建保利投资发展有限公司持股,持股比例分别为51%和49%,实际控制人为世茂投资控股有限公司。

来源:天眼查
根据天眼查官网披露的漳州中世房地产开发有限公司电话,2025年12月31日,记者致电并表明身份后,对方称“打错了”并直接挂断,后续多次拨打均被拒接。
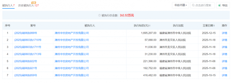
天眼查显示,该企业有天眼风险信息389条,裁判文书18条,涉诉关系49条,开庭公告65条,立案信息38条。2025年10月至今,已更新7条被执行人信息,被执行总金额262.52万元。

来源:天眼查
2025年12月29日,当地一名房产经纪人告诉记者,目前保利世茂璀璨滨江一期15栋13-15楼以外的其他楼层以及其他楼栋在正常住人。