• 最近访问:
发表于 2026-02-25 14:31:54 股吧网页版 发布于 上海
期待减持结束的公告

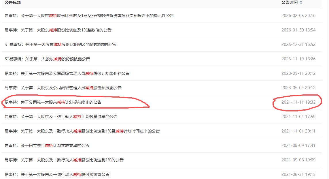
算着日子和数量,都应该差不多了,易事特26年第一次20%涨停即将到来,回看上一次减持21年,11月11日发的减持提前终止公告,11月12日立马拉了20%。现在也就是黎明前的黑暗了,大宗加集中竞价都只剩一点点尾巴了,对于100多亿盘子的票,根本就不算事,不用过分紧张。去年业绩越烂,26年收购完成之后政绩越漂亮,锁定明年年报业绩预增10倍。




2026-02-28 12:02:43  作者更新以下内容

周五大宗结束了,我估计集中竞价也结束了,一般在下个交易日(T加 1)晚上,也就是周一(3月2日)晚上会出减持结束公告,最晚是周二(T加 2),也是合规的。周二不出那就是集中竞价没减完,留给老何的时间也不多了。

郑重声明:用户在财富号/股吧/博客等社区发表的所有信息(包括但不限于文字、视频、音频、数据及图表)仅代表个人观点,与本网站立场无关,不对您构成任何投资建议,据此操作风险自担。请勿相信代客理财、免费荐股和炒股培训等宣传内容,远离非法证券活动。请勿添加发言用户的手机号码、公众号、微博、微信及QQ等信息,谨防上当受骗!
作者:您目前是匿名发表   登录 | 5秒注册 作者:,欢迎留言 退出发表新主题
温馨提示: 1.根据《证券法》规定,禁止编造、传播虚假信息或者误导性信息,扰乱证券市场;2.用户在本社区发表的所有资料、言论等仅代表个人观点,与本网站立场无关,不对您构成任何投资建议。用户应基于自己的独立判断,自行决定证券投资并承担相应风险。《东方财富社区管理规定》

扫一扫下载APP

扫一扫下载APP
信息网络传播视听节目许可证:0908328号 经营证券期货业务许可证编号:913101046312860336 违法和不良信息举报:021-34289898 举报邮箱:jubao@eastmoney.com
沪ICP证:沪B2-20070217 网站备案号:沪ICP备05006054号-11 沪公网安备 31010402000120号 版权所有:东方财富网 意见与建议:021-54509966/952500