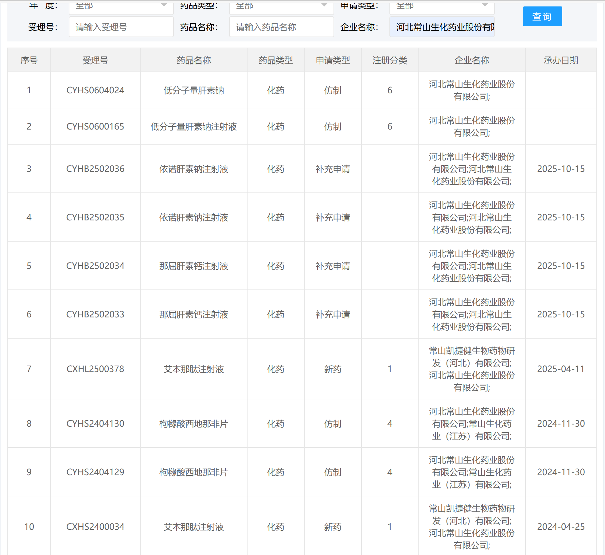
审评中心的信息公开方式又恢复了。上周突然个别新药(不是全部)受理号与辅料包材的登
审评中心的信息公开方式又恢复了。上周突然个别新药(不是全部)受理号与辅料包材的登记号放在一起,引起各种解读。现在又改回去了,辅料和包材还是登记在《原辅包登记信息》栏目里面,信息公开平台的第一个《受理品种信息》栏目里,单独输入艾本的受理号、或药品名称、或企业名称,和过去相同,会显示全部有关信息。其他药品也一样。审评中心不知在搞什么。


2025-11-12 14:20:59 作者更新以下内容
前几天,单独输入药品名称和企业名称,不显示任何信息,只有输入受理号才有信息。
2025-11-12 15:24:46 作者更新以下内容
欢迎一起讨论,互相学习,但如果完全搞不清怎么阐述事实,怎么进行辩论,特别是带有恶意的语气,只能拉黑。
郑重声明:用户在财富号/股吧/博客等社区发表的所有信息(包括但不限于文字、视频、音频、数据及图表)仅代表个人观点,与本网站立场无关,不对您构成任何投资建议,据此操作风险自担。请勿相信代客理财、免费荐股和炒股培训等宣传内容,远离非法证券活动。请勿添加发言用户的手机号码、公众号、微博、微信及QQ等信息,谨防上当受骗!
评论该主题
帖子不见了!怎么办?作者:您目前是匿名发表 登录 | 5秒注册 作者:,欢迎留言 退出发表新主题
温馨提示: 1.根据《证券法》规定,禁止编造、传播虚假信息或者误导性信息,扰乱证券市场;2.用户在本社区发表的所有资料、言论等仅代表个人观点,与本网站立场无关,不对您构成任何投资建议。用户应基于自己的独立判断,自行决定证券投资并承担相应风险。《东方财富社区管理规定》