《科创板日报》11月13日讯(记者黄修眉)科创板IPO折戟17个月后,四川锦江电子医疗器械科技股份有限公司(下称:“锦江电子”)重启IPO之路。
证监会网站显示,锦江电子已于今年11月12日在四川证监局办理辅导备案登记,拟首次公开发行A股并上市,辅导券商为中信证券。
此次冲击A股之前,锦江电子还曾向科创板发起过冲击。其科创板IPO于2023年6月12日获受理,当年7月7日进入问询阶段。2024年6月,该公司及其保荐人撤回发行上市申请,锦江电子科创板IPO终止。
2023年申报科创板时,锦江电子采用第五套上市标准,拟募资26.9亿元,用于锦江电子医疗器械研发及技术中心建设项目、锦江电子医疗器械生产基地项目、锦江电子营销网络及营销能力建设项目、补充流动资金四大项目。

曾推出首款国产心脏三维标测系统
据其此前披露的招股书显示,锦江电子成立于2002年,是一家专注于心脏电生理领域诊断和消融高端创新医疗器械研发、生产和销售的创新型企业。
其于2013年推出中国首款国产心脏三维标测系统,打破了进口技术垄断,填补国产空白。截至2023年4月30日,锦江电子有17款产品获批上市。
根据该公司官网最新内容,其产品共分为心脏电生理、疼痛产品、血管介入产品三大类,其核心产品LEAD-Mapping®心脏电生理三维标测系统于2022年12月获批;一次性使用压力监测脉冲电场消融导管于2023年9月进入NMPA创新医疗器械特别审查程序。
其于2025年最新获批的产品包括第二代脉冲消融导管PulsedFA®FocalPoint磁定位压力监测脉冲电场消融导管和PROMAPPER®STAR一次性使用磁定位星型标测导管。

(图:2023年锦江电子科创板申报时披露的产品信息)
2020年至2022年各期期末,锦江电子实现营收分别约为4133.9万元、6061.59万元、5915.9万元;对应实现归属净利润分别约为2472.5万元、-1658.97万元、-104.24万元;同期的研发投入为 1905.54万元、3616.98万元、2930.83万元;研发投入占营收比例分别为46.10%、59.67%、49.54%
信立泰为其第二大股东
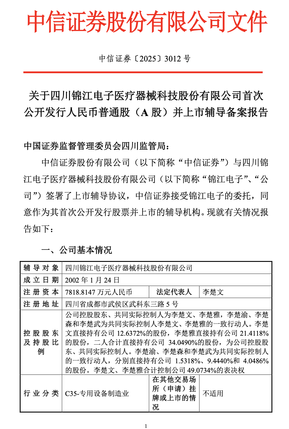
股权结构方面,最新辅导备案显示,锦江电子注册资本7818.8万元,法人代表李楚文。该公司控股股东、共同实控人为李楚文、李楚雅。
李楚渝、李楚森和李楚武为共同实控人李楚文、李楚雅的一致行动人。李楚文直接持有公司12.6372%股份,李楚雅直接持有公司21.4118%的股份,二人合计直接持有公司34.0490%股份,为公司控股股东、共同实控人。

(图:2023年锦江电子科创板申报时披露的股权结构)
其中,李楚文出生于1958年11月出生,无境外永久居留权,毕业于四川广播电视大学(现四川开放大学)电子工程专业,大专学历,锦江电子创始人之一,现为董事长和总经理。
李楚文于1976年12月至1978年1月就职于解放军某部队,任战士;1978年1月至1997年3月就职于解放军总参谋部某研究所,先后任战士、助理及工程师;1997年3月至1998年8月就职于成都市锦江区通用电子仪器厂。
此外,李楚雅为锦江电子董事、副总经理,创始人之一与核心技术人员之一,其于1978年1月至1997年3月就职于总参谋部某研究所,曾任助理及工程师,深度参与了军用通讯设备的研发。
李楚雅作为核心人员于1997年参与研发了中国第一台全数字化多道生理记录仪。李楚雅于2004年成功为美国知名医疗器械企业C. R. Bard公司研发了HL-100G射频消融仪。
在2011年完成收购美国创新型心脏电生理器械公司CARDIMA实质全部资产后,李楚雅带领公司研发团队对CARDIMA的心脏电生理导管研发经验和相关技术进行学习和转化,并逐步搭建起导管工艺技术平台。
值得一提的是,工商信息显示,A股上市公司心脑血管慢病领域龙头信立泰,及其旗下心脑血管创新医疗器械平台立泰生物医疗,共同为锦江电子的第二大股东,合计持有锦江电子16.6793%的股份,二者参与了锦江电子2020年的天使轮融资。
此外,高瓴创投通过旗下两大基金合计持股7.234%。此外,威高松源基金、信达鲲鹏、光华梧桐等为国有控股,但持股比例均不超过5%。

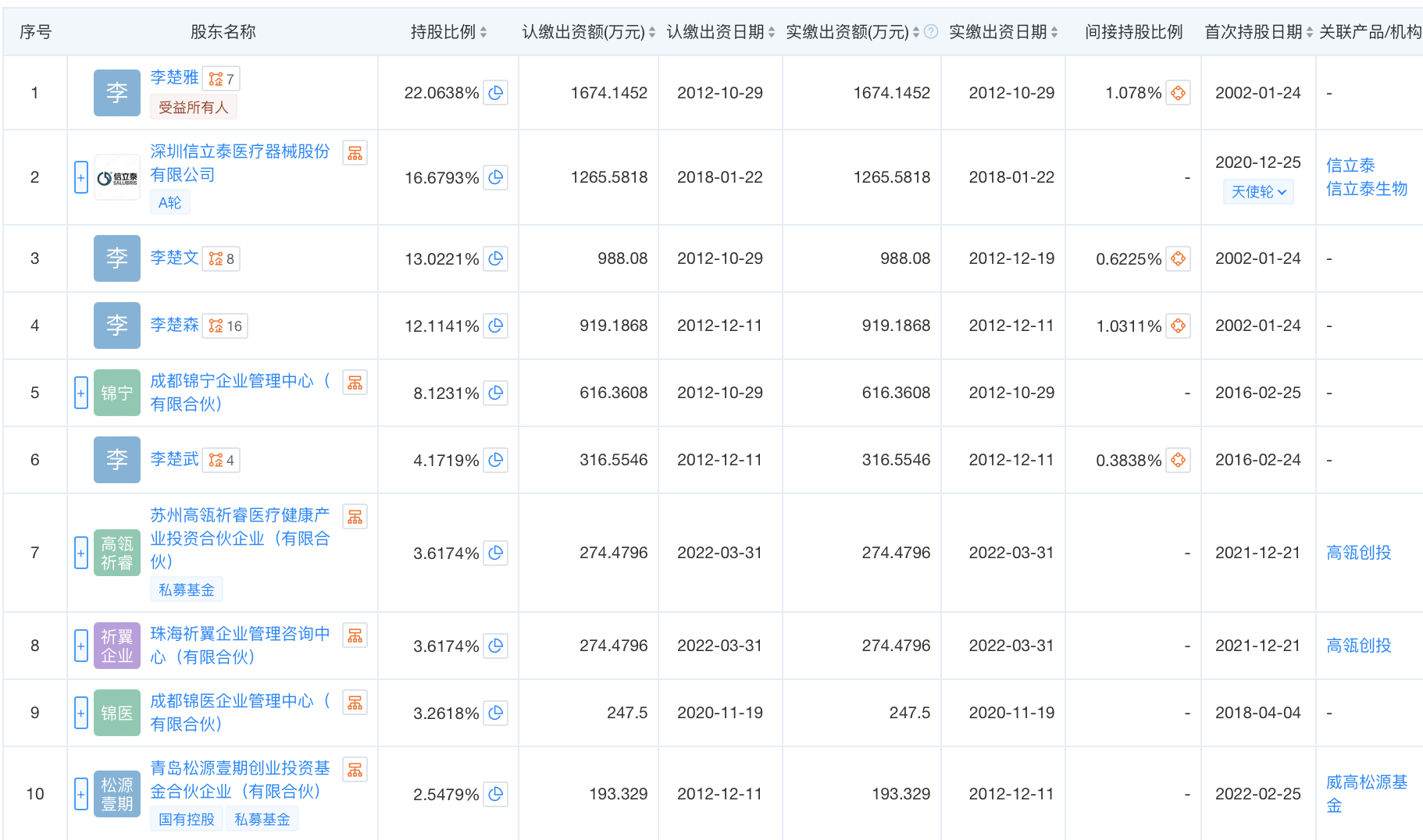
该公司总共历经5轮融资。最近一次超7亿元的B轮融资于2022年8月完成。

(图:锦江电子部分历史融资情况)