• 最近访问:
发表于 2025-12-11 11:21:35 股吧网页版 发布于 四川
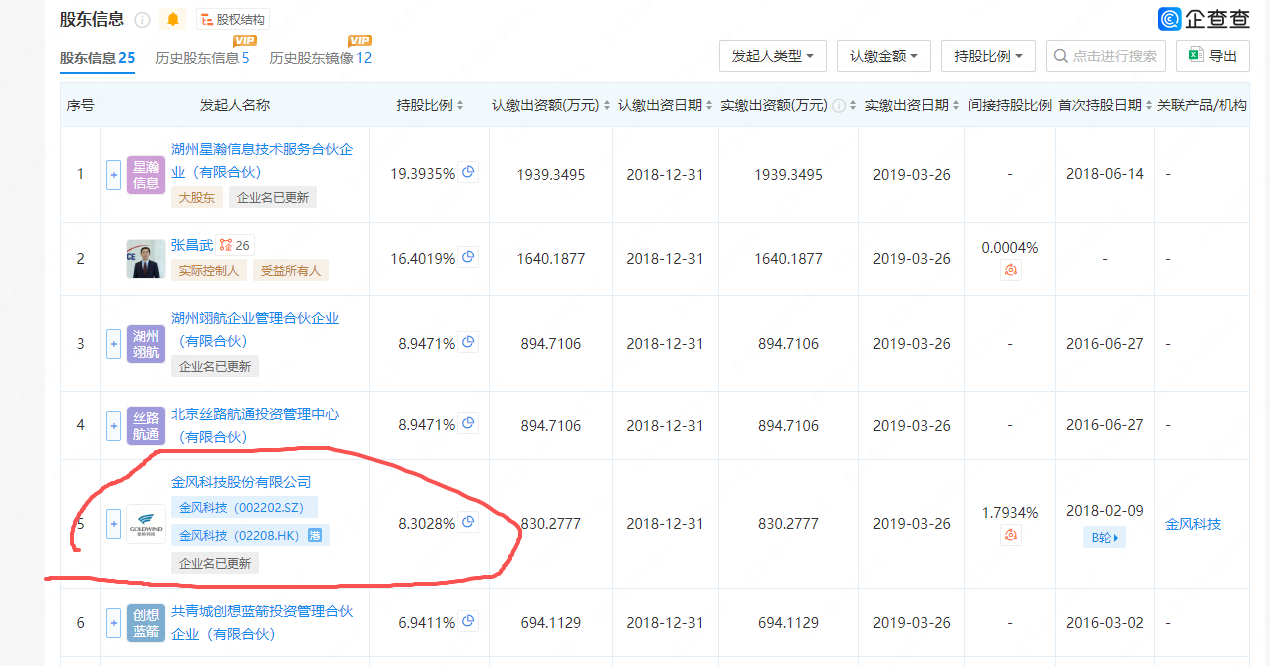
财务报告说持有蓝箭航天8亿多的投资,可是蓝箭航天的工商登记的股东及穿透的股东,没


财务报告说持有蓝箭航天8亿多的投资,可是蓝箭航天的工商登记的股东及穿透的股东,没有任何金风科技及其子公司或关联公司的影子,这是乌龙还是有啥不为人道的?蓝箭航空在申请IPO了,这个投资有啥见不得人的还是没看懂?你们说呢?有心人问问董秘


2025-12-11 11:29:46  作者更新以下内容



2025-12-11 12:00:00  作者更新以下内容

兄弟们,我错了,查到了额


郑重声明:用户在财富号/股吧/博客等社区发表的所有信息(包括但不限于文字、视频、音频、数据及图表)仅代表个人观点,与本网站立场无关,不对您构成任何投资建议,据此操作风险自担。请勿相信代客理财、免费荐股和炒股培训等宣传内容,远离非法证券活动。请勿添加发言用户的手机号码、公众号、微博、微信及QQ等信息,谨防上当受骗!
作者:您目前是匿名发表   登录 | 5秒注册 作者:,欢迎留言 退出发表新主题
温馨提示: 1.根据《证券法》规定,禁止编造、传播虚假信息或者误导性信息,扰乱证券市场;2.用户在本社区发表的所有资料、言论等仅代表个人观点,与本网站立场无关,不对您构成任何投资建议。用户应基于自己的独立判断,自行决定证券投资并承担相应风险。《东方财富社区管理规定》

扫一扫下载APP

扫一扫下载APP
信息网络传播视听节目许可证:0908328号 经营证券期货业务许可证编号:913101046312860336 违法和不良信息举报:021-34289898 举报邮箱:jubao@eastmoney.com
沪ICP证:沪B2-20070217 网站备案号:沪ICP备05006054号-11 沪公网安备 31010402000120号 版权所有:东方财富网 意见与建议:021-54509966/952500