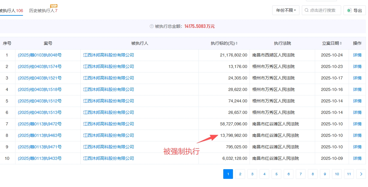
南昌国资委还有这么多钱没划转,同一天的执行案件,还有个五千多万的还没划转,这点钱压根不够,谈妥了没,谈妥了该动手重整了,老廖也没钱了,放手吧,股份都给国资委把$*ST万方(SZ000638)$$*ST东易(SZ002713)$$ST新华锦(SH600735)$


◆
◆
发表于 2025-11-04 19:07:44
发布于 山东
$*ST沐邦(SH603398)$ 如果进入重整程序,所有的司法诉讼执行都会暂停,所有的债权将定格为普通债权,到时候债转股时要折价转换的。所以在重整前肯定要把国资的债权尽可能的保全,安徽采用转为有财产担保的优先债权,江西直接执行现金,这样进入重整程序后才能减少损失。说这么明显,都懂了吧,如果需要配合的动作结束了,那么随时会公告的,目前看执行的话肯定一次性全部执行的,动作应该是尾声了。不要觉得现在追高位股有收益很爽,炒股要看长期。沐邦还是低位,今年超跌。低位利好会冲劲很足的。将军不是一个爱分析的人,懒得分析,但是也不想看有人胡乱说。。$ST新华锦(SH600735)$ $*ST东易(SZ002713)$
郑重声明:用户在财富号/股吧/博客等社区发表的所有信息(包括但不限于文字、视频、音频、数据及图表)仅代表个人观点,与本网站立场无关,不对您构成任何投资建议,据此操作风险自担。请勿相信代客理财、免费荐股和炒股培训等宣传内容,远离非法证券活动。请勿添加发言用户的手机号码、公众号、微博、微信及QQ等信息,谨防上当受骗!
评论该主题
帖子不见了!怎么办?作者:您目前是匿名发表 登录 | 5秒注册 作者:,欢迎留言 退出发表新主题
温馨提示: 1.根据《证券法》规定,禁止编造、传播虚假信息或者误导性信息,扰乱证券市场;2.用户在本社区发表的所有资料、言论等仅代表个人观点,与本网站立场无关,不对您构成任何投资建议。用户应基于自己的独立判断,自行决定证券投资并承担相应风险。《东方财富社区管理规定》